LEMON Manuals: Even more car manuals for everyone
Home >> Suzuki >> 2003 >> Aerio SX, AWD >> Repair and Diagnosis >> Engine Performance >> System >> Engine Controls - System & Component Testing >> Miscellaneous Controls >> A/C Signals Circuit Check >> Grand Vitara

Grand Vitara

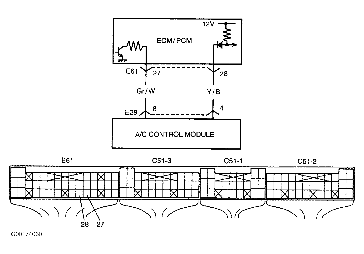
  1. Turn ignition on. Backprobing at ECM, measure voltage between ground and ECM connector E61 terminal No. 28 (Yellow/Black wire). See Fig 1 . With A/C and blower switch Off, voltage should be 10-14 volts. With A/C and blower switch On, voltage should be 0-1.5 volts. If voltage readings are as specified, go to next step. If voltage readings are not as specified, check for open or short in Yellow/Black wire between ECM and A/C control module. See ENGINE PERFORMANCE in SYSTEM WIRING DIAGRAMS article in ELECTRICAL. If no problem with wiring is found, check for A/C malfunction. See appropriate MANUAL or AUTOMATIC A/C-HEATER SYSTEMS article in AIR CONDITIONING & HEATING.
  2. Turn ignition on. Backprobing at ECM, measure voltage between ground and ECM connector E61 terminal No. 27 (Grey/White wire). With A/C and blower switch Off, voltage should be 0-1 volt. With A/C and blower switch On, voltage should be 10-14 volts. If voltage readings are as specified, A/C circuit s are okay. If voltage readings are not as specified, go to next step.
  3. Check for open or short in Grey/White or Grey/Yellow wire between A/C control module and ECM. See Fig 1 . Also, check for poor performance of ECT sensor, TP sensor, engine start signal input to ECM. For testing procedures, see appropriate DTC testing procedure in SELF DIAGNOSTICS - GRAND VITARA article. If problem is found, repair as necessary. After repair, retest system. If no problem with wiring or sensors is found, substitute ECM with known good unit and retest system.
Fig 1: A/C Signal Circuit Diagram (Grand Vitara)
G00174060Courtesy of SUZUKI OF AMERICA CORP.