LEMON Manuals: Even more car manuals for everyone
Home >> Suzuki >> 2002 >> XL-7 Base, 4WD >> Repair and Diagnosis >> Engine Performance >> System >> Engine Controls - System & Component Testing >> Miscellaneous Controls >> A/C Signals Circuit Check >> Aerio

A/C Signals Circuit Check: Aerio

  1. With ignition switch OFF, disconnect ECM connectors and check resistance between ECM connector G04 terminals No. 20 and 18 and terminals No. 6 and 18. See Figure . Resistance should be 6.3-6.9 k/ohms at 32° F (0°C) and 1.8-2.2 k/ohms at 77° F (25°C). If resistance is within specification, go to next step. Is resistance is not as specified, A/C evaporator temp. sensor or its circuits are faulty
  2. Measure voltage at ECM connector G04 terminal No. 28. Voltage should be 10-14 volts with ignition switch ON and A/C switch OFF. With ignition switch ON and A/C switch ON, voltage should be 0-1 volts. If voltage is as specified, go to next step. If voltage is not as specified, check Green/Black wire for open or short. Check ECM connector G04 terminal No. 28 for poor connection. If wire and connector are fine, substitute a known-good ECM and recheck.
  3. Turn blower switch ON. If A/C cooling fan starts, go to step 7. If A/C cooling fan does not start, go to next step.
  4. Measure voltage at ECM connector G04 terminal No. 32. Voltage should be 10-14 volts with ignition switch ON and A/C switch OFF. With ignition switch ON and A/C switch ON, voltage should be 0-1 volts. If voltage is as specified, go to next step. If voltage is not as specified, check Blue/Yellow wire for open or short. Check ECM connector terminal No. 32 for poor connection. If wire and connector are fine, substitute a known-good ECM and recheck.
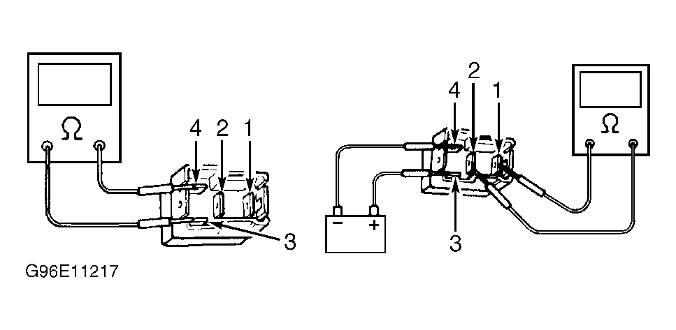
  5. With ignition switch OFF, remove A/C condenser fan control relay. Check for proper connection to relay at terminals 1 and 2. If OK, check for continuity between 1 and 2 when battery is connected to terminals 3 and 4. See Figure If check result is satisfactory, go to next step. If result is not satisfactory, replace A/C condenser fan control relay.
  6. With ignition turned OFF, disconnect A/C condenser fan motor connector and Check for proper connection at Red/Blue and Black terminals. If OK, connect battery to motor and check for operation. If motor is in good condition, Red/Blue or Black circuit open. If motor is not in good condition, replace A/C condenser fan motor.
  7. Turn A/C switch and heater blower switch ON. IF A/C compressor starts, A/C control system is in good condition. If A/C compressor does not start, go to next step.
  8. NOTE: When A/C evaporator thermistor temp. is below 36.5 °F (2.5 °C), A/C remains OFF (C45-21 terminal voltage becomes 0-1 volt). This condition is not abnormal.
  9. Measure voltage at ECM connector C45 terminal No. 21. With engine running and A/C switch OFF, voltage should be 10-14 volts. With engine running and A/C switch ON, voltage should be 0-1 volt. If voltage is not as specified, check Brown/Yellow wire for open or short. Check ECM connector G04 terminal No. 28 for poor connection. If wire and connector are fine, substitute a known-good ECM and recheck.
  10. With ignition switch OFF, remove A/C compressor control relay. Check for proper connection to relay at terminals 1 and 2. If OK, check for continuity between 1 and 2 when battery is connected to terminals 3 and 4. See Figure . If check result is satisfactory, check A/C compressor. If result is not satisfactory, replace A/C compressor control relay.