LEMON Manuals: Even more car manuals for everyone
Home >> Suzuki >> 2002 >> XL-7 Base, 4WD >> Repair and Diagnosis >> Engine Performance >> System >> Engine Controls - System & Component Testing >> Fuel System >> Fuel Pump Circuit Check >> Esteem

Fuel Pump Circuit Check: Esteem

  1. Turn ignition on. If fuel pump is heard for 2 seconds, circuit is in good condition. If fuel pump is not heard, go to next step.
  2. Turn ignition off. Remove fuel pump relay from underhood fuse/relay box. See Fig 1 . Check for poor, loose, corroded or damage to main relay socket connections. If problem is found, repair as necessary. If no problem is found, go to next step.
  3. Using fused jumper wire, jumper fuel pump relay socket connector terminals No. 1 and 2. See Figure . If fuel pump runs, go to step  5 . If fuel pump relay does not run, go to next step.
  4. Check for open in Pink wire between fuel pump relay and fuel pump. See Figure or Fig 3 . Also, check for open in Yellow/Black wire between fuel pump relay and ECM. Check for open in Red/Black wire between fuel pump relay and ignition switch. If problem is found, repair as necessary. After repair, retest system.
  5. Working with relay, measure resistance between main relay terminals No. 1 and 2. See Figure . No continuity should exist. Measure resistance between main relay terminals No. 3 and 4. Resistance should be 70-110 ohms. If resistance is as specified, go to next step. If resistance is not as specified, replace fuel pump relay.
  6. Apply battery voltage to terminal No. 3, and ground to terminal No. 4, of relay. Continuity should exist between terminals No. 1 and 2 when fuel pump relay is energized. If continuity is as specified, substitute ECM with known good unit. Retest system. If continuity is not as specified, replace fuel pump relay.
Fig 1: Identifying Fuel Pump Relay Connector (Esteem)
G96C11215Courtesy of SUZUKI OF AMERICA CORP.
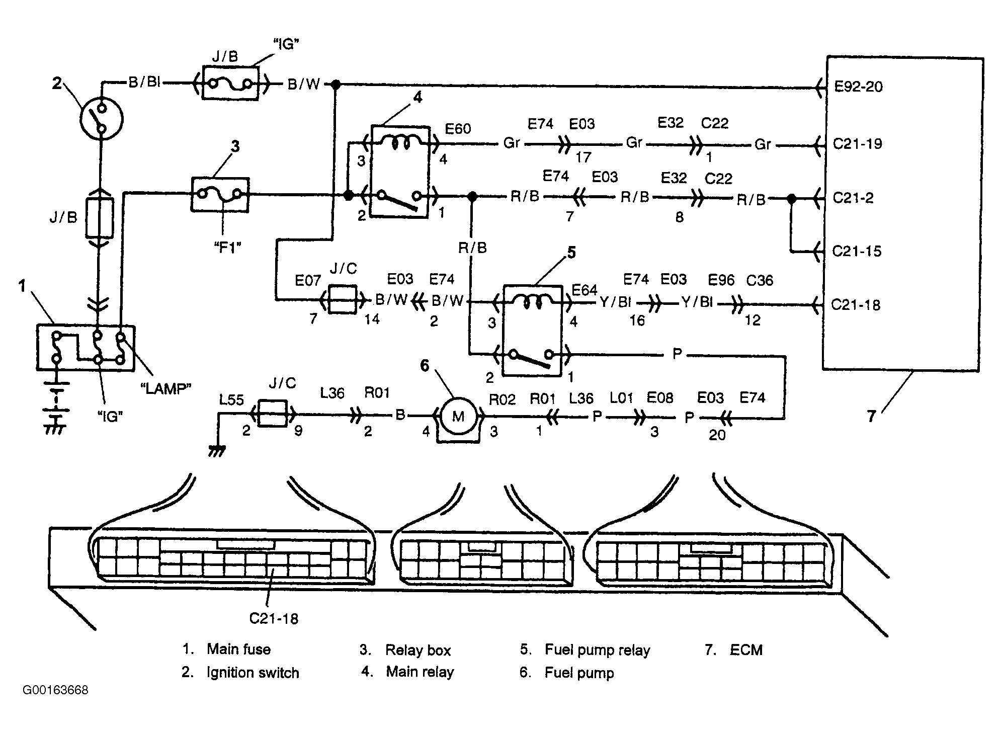
Fig 2: Fuel Pump Circuit Diagram (Esteem 1.6L)
G00163668Courtesy of SUZUKI OF AMERICA CORP.
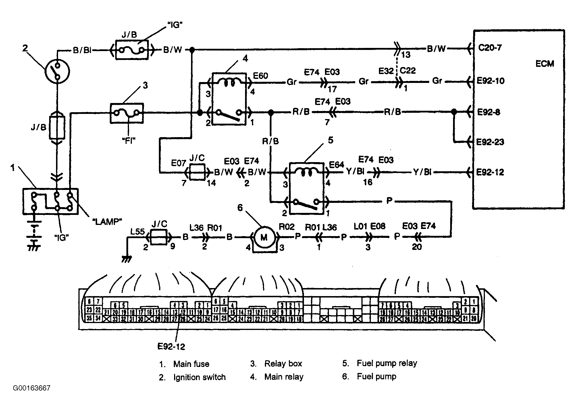
Fig 3: Fuel Pump Circuit Diagram (Esteem 1.8L)
G00163667Courtesy of SUZUKI OF AMERICA CORP.