LEMON Manuals: Even more car manuals for everyone
Home >> Suzuki >> 2001 >> Swift GA, Automatic >> Repair and Diagnosis >> Engine Performance >> System >> Engine Controls - System & Component Testing >> Idle Control System >> Idle Air Control (IAC) Valve >> XL-7

Idle Air Control (IAC) Valve: XL-7

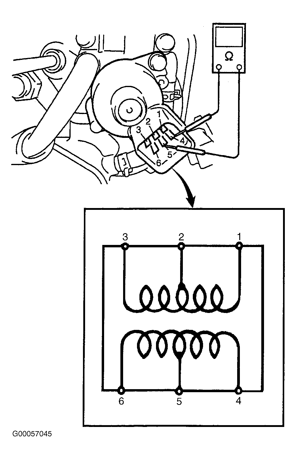
  1. Remove IAC valve electrical connector. Using DVOM, check resistance of IAC valve between terminals "1" and "2", "2" and "3", "4" and "5", and "5" and "6". See Fig 1 . Resistance should be 25.5-33.5 ohms between each set of terminals at approximately 68°F (20°C). If resistance is as specified, go to next step. If resistance is not as specified, replace IAC valve and retest system.
  2. Remove IAC valve from throttle body. With electrical connector attached to IAC valve, crank engine for 2 seconds while observing valve. It should move once and then stop as soon as ignition is turned off. If IAC valve plunger does not move as specified, check for poor connections, opens or shorts in wiring. If wiring is okay, replace IAC valve and retest system.
Fig 1: Identifying Idle Air Control Terminals (XL-7)
G00057045Courtesy of SUZUKI OF AMERICA CORP.