LEMON Manuals: Even more car manuals for everyone
Home >> Suzuki >> 1999 >> Swift Automatic >> Repair and Diagnosis >> Engine Performance >> System >> Engine Controls - System & Component Testing >> Relays & Solenoids >> Relays >> Fuel Pump Relay/Main Relay

Fuel Pump Relay/Main Relay

NOTE: Both fuel pump- and main relays are identical. Following test procedures apply to both.
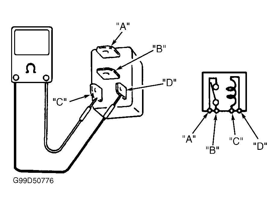
  1. Turn ignition off. Disconnect negative battery cable. Disconnect relay connector and remove relay. See Fig 1 -Fig 4 for location. Using an ohmmeter, check continuity between terminals "A" and "B". See Fig 5 . If continuity is not present, go to next step. If continuity is present, replace relay.
  2. Check resistance between terminals "C" and "D". If resistance is 70-110 ohms (79-95 on Vitara 1.6L and 2.0L), go to next step. If resistance is not as specified, replace relay.
  3. Energize relay by applying battery voltage and ground to terminals "C" and "D". Check continuity between terminals "A" and "B". If continuity is present, relay is okay. If continuity is not present, replace relay.
Fig 1: Locating Main Relay & Fuel Pump Relay (Esteem)
G95G34625Courtesy of SUZUKI OF AMERICA CORP.
Fig 2: Locating & Identifying Relays (Swift)
G95I34627Courtesy of SUZUKI OF AMERICA CORP.
Fig 3: Locating Main Relay & Fuel Pump Relay (Vitara)
G99B51061Courtesy of SUZUKI OF AMERICA CORP.
Fig 4: Locating Main Relay & Fuel Pump Relay (Grand Vitara)
G99C50775Courtesy of SUZUKI OF AMERICA CORP.
Fig 5: Identifying Fuel Pump & Main Relay Connector Terminals (Grand Vitara Shown; All Others Are Similar)
G99D50776Courtesy of SUZUKI OF AMERICA CORP.