LEMON Manuals: Even more car manuals for everyone
Home >> Suzuki >> 1995 >> Sidekick JS, 2D Utility, Standard >> Repair and Diagnosis >> Engine Performance >> System >> Engine Controls - Basic Testing >> Ignition Checks >> IGNITOR (Power Unit) >> TBI

IGNITOR (Power Unit): TBI

  1. Turn ignition on. Using voltmeter, check for battery voltage at ignition coil, between coil positive terminal (Black/White wire) and ground. If battery voltage does not exist, check ignition fuse circuit.
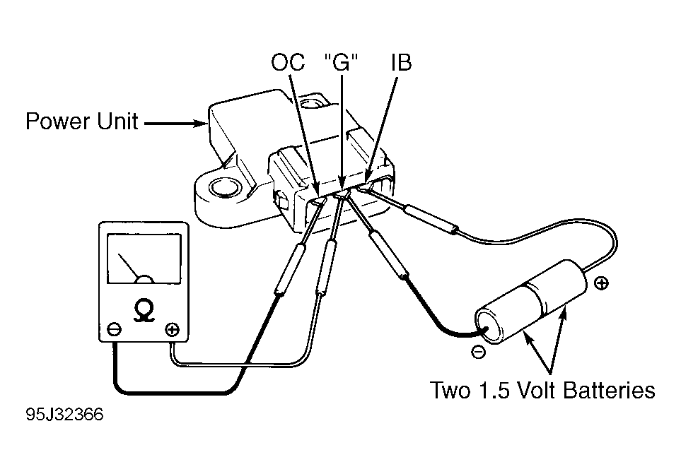
  2. To test ignitor, turn ignition off. Remove ignitor from under ignition coil. Tape together two 1.5-volt dry cell batteries in series to create a 3-volt power source. Connect a jumper wire from ignitor terminal "G" to negative side of 3-volt power source. Connect another jumper wire from ignitor terminal IB to positive side of 3-volt power source. See Fig 1 .
  3. Using ohmmeter, connect positive ohmmeter lead to ignitor terminal "G" and negative ohmmeter lead to ignitor terminal OC. See Fig 1 . Check for continuity with 3-volt power source applied. No continuity should be present with 3-volt power source disconnected from ignitor. Replace ignitor if test results are not within specification.
Fig 1: Testing Ignitor (TBI)
G95J32366Courtesy of SUZUKI OF AMERICA CORP.