LEMON Manuals: Even more car manuals for everyone
Home >> Suzuki >> 1995 >> Samurai >> Repair and Diagnosis >> Engine Performance >> System >> Engine Controls - Basic Testing >> Ignition Checks >> Camshaft/Crankshaft Position Sensor

Camshaft/Crankshaft Position Sensor

NOTE: Camshaft/Crankshaft Position (CMP/CKP) sensor may also be known as pick-up coil or Hall Effect sensor.
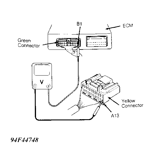
  1. With ignition off, disconnect Yellow ECM connector. ECM is under lower right side of dash. Connect voltmeter between terminal B1 and terminal A13. See Fig 1 .
  2. Remove distributor cap, rotor and shield cover. Rotate distributor shaft so signal rotor is between magnet and Hall Effect pick-up. Voltmeter reading should be 0-1 volt.
  3. Rotate distributor shaft so signal rotor is not between magnet and Hall Effect pick-up. Voltage should be about 12 volts. If results are not as indicated, inspect wiring and connections and repair as required. If wiring is okay, replace Hall Effect assembly (camshaft/crankshaft position sensor).
Fig 1: Testing CMP/CKP Sensor
G94F44748Courtesy of SUZUKI OF AMERICA CORP.
CMP/CKP SENSOR RESISTANCE - Ohms @ 68°F (20°C)

Application Ohms
Samurai (1)
(1) Information not available at time of publication.
PICK-UP COIL AIR GAP

Application In. (mm)
Samurai (1)
(1) Not adjustable.