LEMON Manuals: Even more car manuals for everyone
Home >> Suzuki >> 1995 >> Esteem GL, Standard >> Repair and Diagnosis >> Engine Performance >> System >> Engine Controls - Tests W/Codes >> Code Charts >> Code 51 - EGR System Faulty EGR System

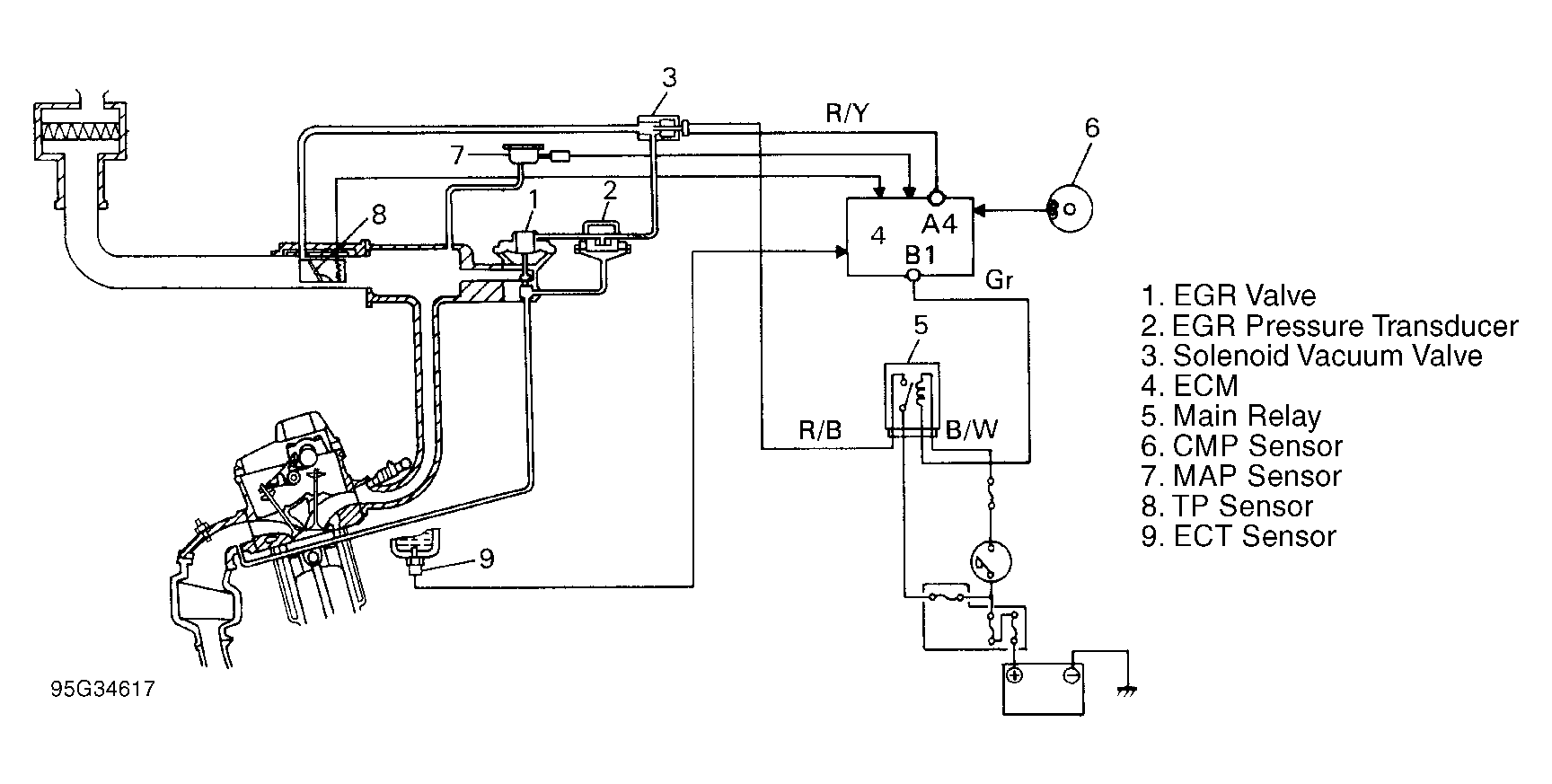
Code 51 - EGR System Faulty EGR System

NOTE: When repairs and testing are completed, see FINAL CHECK  .
Fig 1: Code 51 - Circuit Diagram
G95G34617Courtesy of SUZUKI OF AMERICA CORP
Fig 2: Code 51 - Flow Chart
G95H34618Courtesy of SUZUKI OF AMERICA CORP