LEMON Manuals: Even more car manuals for everyone
Home >> Suzuki >> 1993 >> Sidekick JS, 4D Utility >> Repair and Diagnosis >> Engine Performance >> System >> Engine Controls - System/Component Tests >> Idle Control System >> Idle Air Control (IAC) >> Samurai

Idle Air Control (IAC): Samurai

  1. Before idle speed/IAC duty is checked or adjusted, check the following: all wires and vacuum hoses are connected securely, accelerator cable has some play, valve clearance and timing are set to specification, and all accessories are turned off.
  2. Warm engine to normal operating temperature. Connect spare fuse to diagnostic switch terminal. Enter self-diagnostics and check if Code 12 is present. See appropriate TESTS W/CODES article. If Code 12 is present, proceed to step 3). If Code 12 is not present, see appropriate INITIAL DIAGNOSTIC PROCEDURE chart in appropriate TESTS W/CODES article.
  3. Ensure idle speed and IAC duty are within specification. See ADJUSTMENTS article. If idle speed and IAC duty are correct, system is operating correctly. If idle speed is correct, but IAC duty is not correct, go to step 4). If idle speed is high, go to step 5). If idle speed is low, go to step 8).
  4. If idle speed is correct, but IAC duty is incorrect, adjust IAC duty. See ADJUSTMENTS article.
    NOTE: When IAC is almost closed, check air intake system for vacuum leaks. If no vacuum leaks are present, adjust IAC duty. If IAC duty remains unchanged when adjusting screw is rotated, check wiring circuit of duty check terminal. For information on duty check terminal, see appropriate SELF- DIAGNOSTICS article.
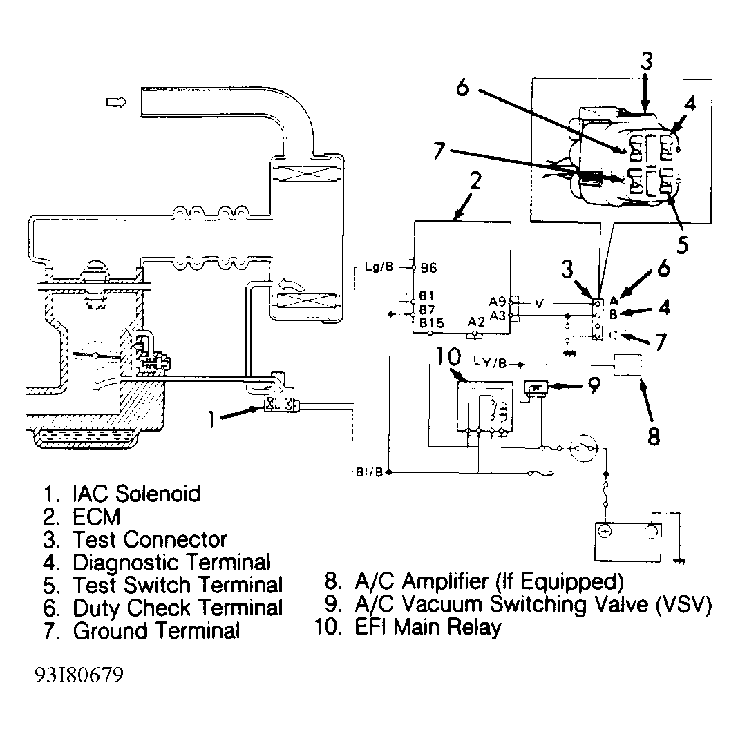
  5. If idle speed is high, pinch upper hose on IAC solenoid closed. See Fig 1 . The IAC solenoid is located on right side of engine, near valve cover. Note if engine speed decreases. If engine speed did not decrease, go to step 7). If engine speed decreased, go to next step.
  6. Turn ignition off. Disconnect electrical connector from IAC solenoid. Using ohmmeter, check resistance between IAC solenoid terminals. Resistance should be 30-33 ohms. Replace IAC solenoid if defective. If resistance is okay, check for short in Light Green/Black wire. See Fig 1 . If wiring is okay, substitute a known good ECM and recheck.
  7. Ensure no vacuum leaks are present in air intake system or A/C Vacuum Switching Valve (VSV). Adjust idle speed and IAC duty. See ADJUSTMENTS article. If idle speed cannot be adjusted, check air valve. See FAST IDLE AIR (FIA) VALVE  under IDLE CONTROL SYSTEM.
  8. If idle speed is low, disconnect IAC solenoid hose from air cleaner. Note if air is being drawn into hose. If no air is being drawn in, go to next step. If air is being drawn in, adjust idle speed and IAC duty. See ADJUSTMENTS article.
  9. Turn ignition off. Disconnect electrical connector from IAC solenoid. Using ohmmeter, check resistance between IAC solenoid terminals. Resistance should be 30-33 ohms. Replace IAC solenoid if defective. If resistance is okay, go to next step.
  10. Check for open in Light Green/Black wire, defective wiring connections or clogged hoses to IAC solenoid. See Fig 1 . If all are okay, substitute a known good ECM and recheck operation.
Fig 1: IAC Solenoid Wiring Schematic (Samurai Shown; Others Similar)
G93I80679Courtesy of SUZUKI OF AMERICA CORP.