LEMON Manuals: Even more car manuals for everyone
Home >> Suzuki >> 1993 >> Sidekick JS, 2D Utility, Automatic >> Repair and Diagnosis >> Engine Performance >> Testing & Diagnosis >> Engine Controls - Tests W/Codes - MPI >> Fault Code Flow Charts >> Code 44 - Idle Switch Circuit Open Or MISADJUSTED

Code 44 - Idle Switch Circuit Open Or MISADJUSTED

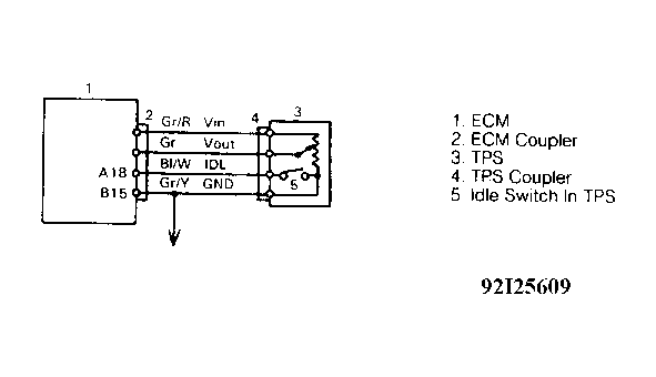
Fig 1: Code 44 - Schematic
G92I25609Courtesy of SUZUKI OF AMERICA CORP.
Fig 2: Code 44 - Diagnostic Flowchart
G92B25610Courtesy of SUZUKI OF AMERICA CORP.