LEMON Manuals: Even more car manuals for everyone
Home >> Suzuki >> 1993 >> Sidekick JS, 2D Utility, Automatic >> Repair and Diagnosis >> Engine Performance >> System >> Engine Controls - Tests W/Codes - MPI >> Fault Code Flow Charts >> Code 24 - Vehicle Speed Sensor

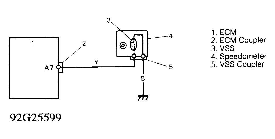
Code 24 - Vehicle Speed Sensor

Fig 1: Code 24 - Schematic
G92G25599Courtesy of SUZUKI OF AMERICA CORP.
Fig 2: Code 24 - Diagnostic Flowchart
G92J25600Courtesy of SUZUKI OF AMERICA CORP.