LEMON Manuals: Even more car manuals for everyone
Home >> Suzuki >> 1992 >> Sidekick JS, 2D Utility >> Repair and Diagnosis >> Engine Performance >> System >> Engine Controls - System/Component Tests >> Emission Systems & Sub-Systems >> Exhaust Gas RECIRCULATION (EGR) >> EGR System Test (Federal)

EGR System Test (Federal)

  1. Place transmission in Park (A/T) or Neutral (M/T) and transfer case lever in 2H position. Apply parking brake. With coolant temperature less than 131°F (55°C), start engine and operate at high RPM. EGR valve diaphragm should not retract.
  2. Warm engine to normal operating temperature. Operate engine at high RPM. EGR valve diaphragm should retract.
  3. If EGR valve does not operate as specified, check for misrouted, restricted, clogged or deteriorated vacuum hoses. If vacuum hoses are okay, check EGR valve, EGR modulator, VSV, wire harness and ECM. See EGR VALVE and EGR MODULATOR under EXHAUST GAS RECIRCULATION (EGR)  .
  4. If EGR valve and EGR modulator are okay, check EGR Vacuum Switching Valve (VSV). See EGR VACUUM SWITCHING VALVE (VSV) under EXHAUST GAS RECIRCULATION (EGR)  .
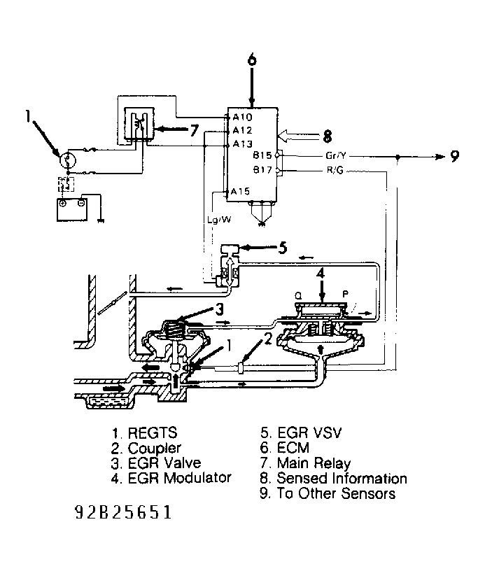
  5. If VSV is okay, disconnect ECM connector. On PFI, check Light Green/White wire from terminal No. A15. On TBI, check Light Green/Yellow wire from terminal No. A5, for short to ground, an open circuit, or poor connections at ECM or VSV connectors. If okay, replace ECM with a known good unit and retest. See Figure and Fig 1 .
Fig 1: EGR Control System Vacuum & Wiring Diagram (PFI)
G92B25651Courtesy of SUZUKI OF AMERICA CORP.