LEMON Manuals: Even more car manuals for everyone
Home >> Suzuki >> 1991 >> Sidekick JS >> Repair and Diagnosis (Single Page) >> Engine Performance >> System >> Engine Controls - Tests W/Codes >> Diagnostic Code Charts >> Code 53 - ECM Ground Circuit Check (CALIF.)

Code 53 - ECM Ground Circuit Check (CALIF.)

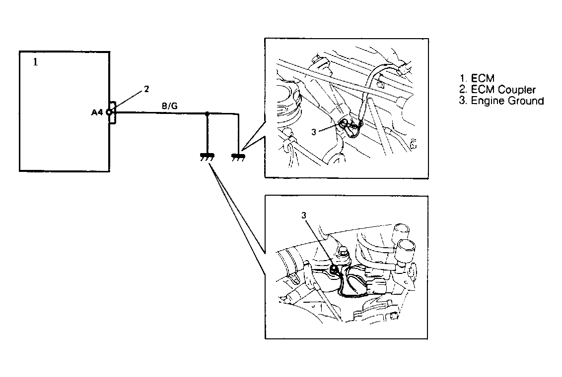
Fig 1: Code 53 Schematic, ECM Ground Circuit Check (Calif.)
G91J18514Courtesy of SUZUKI OF AMERICA CORP.
Fig 2: Code 53 Flow Chart, ECM Ground Circuit Check (Calif.)
G91A18515Courtesy of SUZUKI OF AMERICA CORP.