LEMON Manuals: Even more car manuals for everyone
Home >> Suzuki >> 1991 >> Sidekick JS >> Repair and Diagnosis (Single Page) >> Engine Performance >> System >> Engine Controls - Tests W/Codes >> Diagnostic Code Charts >> Code 51 - EGR System Circuit Check (CALIF.)

Code 51 - EGR System Circuit Check (CALIF.)

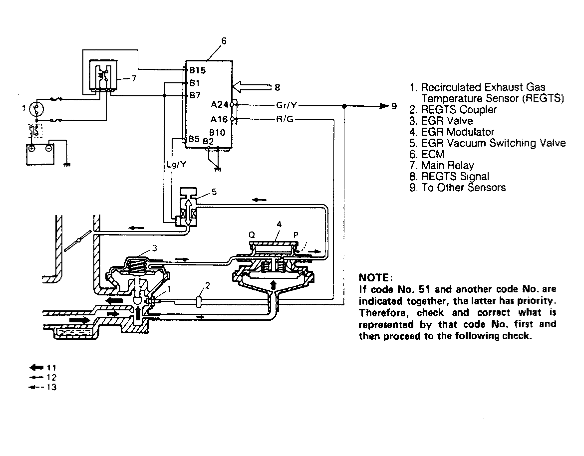
Fig 1: Code 51 Schematic, EGR System Circuit Check
G91H18512Courtesy of SUZUKI OF AMERICA CORP.
Fig 2: Code 51 Flow Chart, EGR System Circuit Check (1 of 2)
G91I18513Courtesy of SUZUKI OF AMERICA CORP.
Fig 3: Code 51 Flow Chart, EGR System Circuit Check (2 of 2)
G91J17870Courtesy of SUZUKI OF AMERICA CORP.