LEMON Manuals: Even more car manuals for everyone
Home >> Suzuki >> 1991 >> Sidekick JS >> Repair and Diagnosis (Single Page) >> Engine Performance >> System >> Engine Controls - Tests W/Codes >> Diagnostic Code Charts >> Code 44 - Idle Switch Circuit Open Or MISADJUSTED

Code 44 - Idle Switch Circuit Open Or MISADJUSTED

Fig 1: Code 44 Schematic, Idle Switch Ckt.-Open or Misadjusted
G91A18507Courtesy of SUZUKI OF AMERICA CORP.
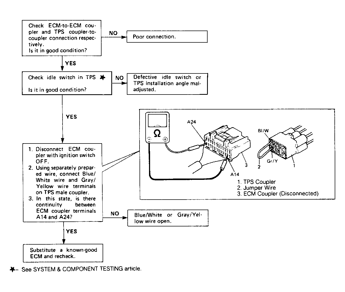
Fig 2: Code 44 Flow Chart, Idle Switch Ckt.-Open or Misadjusted
G91B18508Courtesy of SUZUKI OF AMERICA CORP.