LEMON Manuals: Even more car manuals for everyone
Home >> Suzuki >> 1991 >> Samurai JS >> Repair and Diagnosis >> External Pages >> Different car >> Section 13 (Glass/Windows/Mirrors) >> Schematic and Routing Diagram >> Window Systems Connector End Views >> Window Switch - LR

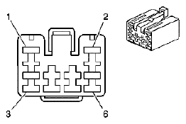
Window Switch - LR

WARNING: This page is about a different car, the 2007 Suzuki XL7. However, it is still accessible from the selected car via links, so may be relevant.
Fig 1: Identifying Connector Terminals Of Window Switch - LR
G04845230Courtesy of SUZUKI OF AMERICA CORP.

Connector Part Information 

OEM: 6098-0245

Service: -

Description: 6-Way F HD Series (L-GY)

Terminal Part Information 

Terminal/Tray: See Suzuki Terminal Repair Kit

Core/Insulation Crimp: See Suzuki Terminal Repair Kit

Release Tool/Test Probe: See Suzuki Terminal Repair Kit

WINDOW SWITCH LR CONNECTOR TERMINAL INFORMATION

Pin Wire Color Circuit No. Function
1 BN 669 Power Window Motor Left
Rear Down Control
2 PU 169 Power Window Master
Switch Left Rear Down Signal
3 - - Not Used
4 D-BU 668 Power Window Motor Left
Rear Up Control
5 D-BU 1307 Power Window Master
Switch Lockout Signal
6 D-GN 168 Power Window Master
Switch Left Rear Up Signal