LEMON Manuals: Even more car manuals for everyone
Home >> Suzuki >> 1991 >> Samurai JS >> Repair and Diagnosis >> Engine Performance >> System >> Engine Controls - Tests W/Codes >> Fault Code Flow Charts >> Code 51 - EGR System Circuit Check - CALIF. Only

Code 51 - EGR System Circuit Check - CALIF. Only

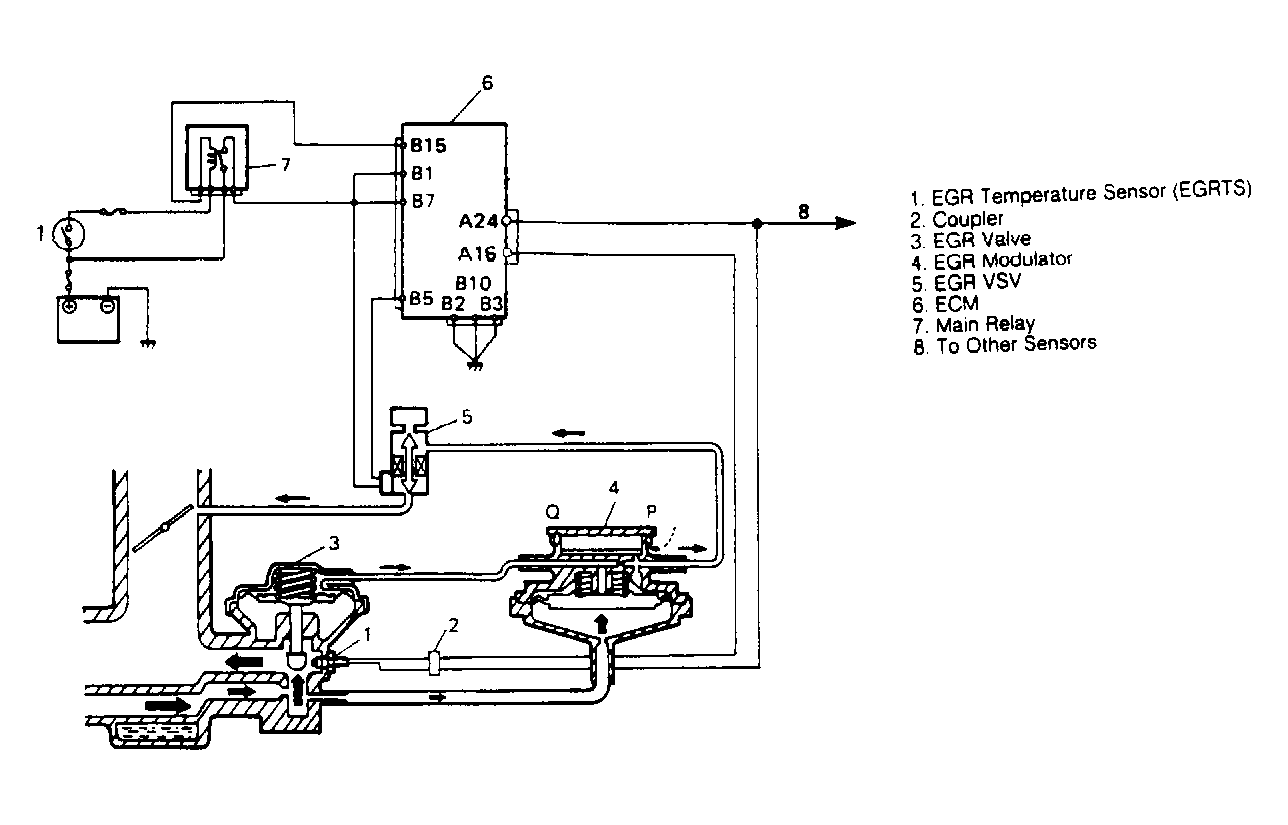
Fig 1: Code 51 Schematic
G90J18035Courtesy of SUZUKI OF AMERICA CORP.
Fig 2: Code 51 Flow Chart
G90A18036Courtesy of SUZUKI OF AMERICA CORP.