LEMON Manuals: Even more car manuals for everyone
Home >> Suzuki >> 1991 >> Samurai JS >> Repair and Diagnosis >> Engine Performance >> System >> Engine Controls - Tests W/Codes >> Fault Code Flow Charts >> Code 41 - No Ignition Signal

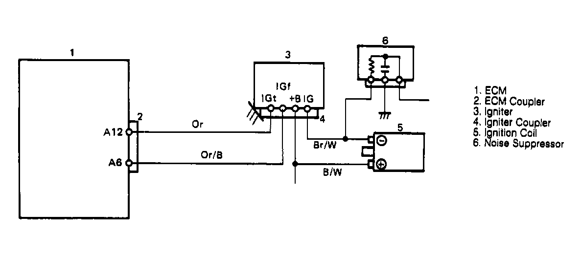
Code 41 - No Ignition Signal

Fig 1: Code 41 Schematic, No Ignition Signal
G90E18030Courtesy of SUZUKI OF AMERICA CORP.
Fig 2: Code 41 Flow Chart, No Ignition Signal
G90F18031Courtesy of SUZUKI OF AMERICA CORP.