LEMON Manuals: Even more car manuals for everyone
Home >> Suzuki >> 1991 >> Samurai JS >> Repair and Diagnosis >> Engine Performance >> System >> Engine Controls - Tests W/Codes >> Fault Code Flow Charts >> Code 21 - Throttle Position Sensor Circuit Indication High

Code 21 - Throttle Position Sensor Circuit Indication High

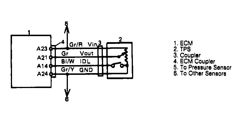
Fig 1: Code 21 Schematic, TPS Sensor Circuit
G90D18021Courtesy of SUZUKI OF AMERICA CORP.
Fig 2: Code 21 Flow Chart, TPS Sensor Circuit
G90E18022Courtesy of SUZUKI OF AMERICA CORP.