LEMON Manuals: Even more car manuals for everyone
Home >> Suzuki >> 1990 >> Sidekick JS >> Repair and Diagnosis >> Engine Performance >> System >> Engine Controls - System/Component Tests >> Fuel Injector Resistance >> Fuel Injector Circuit Test (Swift DOHC)

Fuel Injector Circuit Test (Swift DOHC)

  1. Crank engine and check operating sound of each fuel injector. If operating sound can be heard from all 4 fuel injectors, fuel injector circuit is okay. If no operating sound is heard from any of the fuel injectors, go to next step. If one or more fuel injector(s) makes no operating sound, go to step 6).
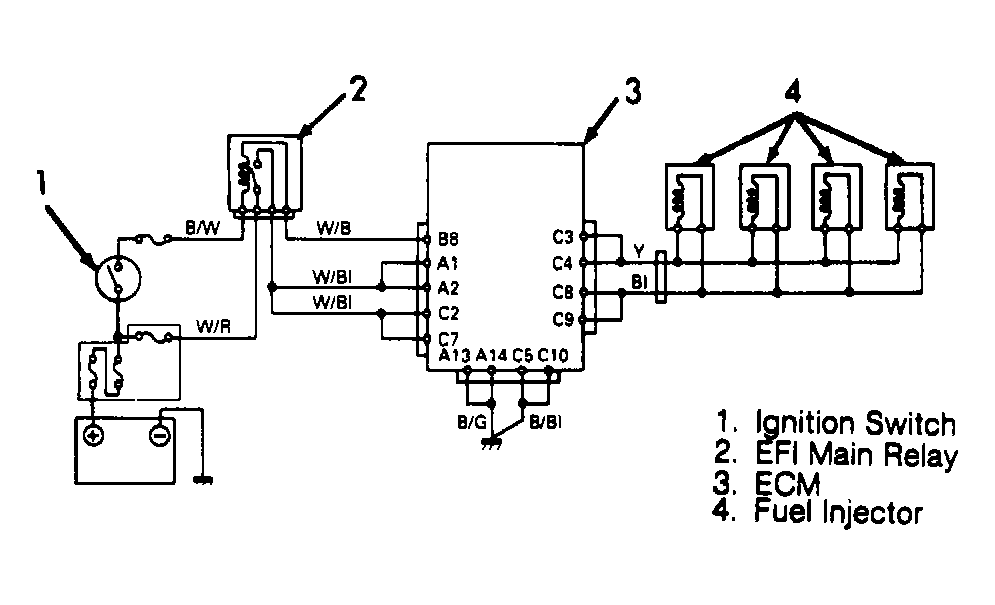
  2. If no operating sound is heard from any of the fuel injectors, turn ignition off. Disconnect ECM 10-pin connector. See Fig 1 . See ECM LOCATION  table.
  3. Using an ohmmeter, check for continuity between ECM 10-pin connector terminals C3 and C8. If continuity does not exist, check for open between terminals C3 and C8 or poor connections at fuel injector. Check for continuity between terminal C5 and ground. If continuity does not exist, check C5 wire for open or poor ground.
  4. Disconnect ohmmeter. Turn ignition on. Using a voltmeter, check for battery voltage between ECM terminal C2 and ground. If battery voltage is not present, check for open circuit. Check EFI main relay. See EFI MAIN RELAY under RELAYS & SOLENOIDS  in this article. If ohmmeter and voltmeter readings are okay, go to next step.
  5. If ohmmeter and voltmeter readings are okay, check connections at ECM 10-pin connector terminal C3 to C4, C8 to C9, C5 to C10 and C2 to C7. See Fig 2 . If connections are okay, substitute a known good ECM and retest.
  6. If one or more fuel injector(s) makes no operating sound, check each fuel injector connector for poor connection. If okay, check fuel injectors. See FUEL INJECTOR(S) under FUEL CONTROL  in this article.
Fig 1: Identifying ECM 10-Pin Connector Terminals (Swift DOHC)
G90D17395Courtesy of SUZUKI OF AMERICA CORP.
Fig 2: Fuel Injector Circuit Diagram (Swift DOHC)
G90E17396Courtesy of SUZUKI OF AMERICA CORP.