LEMON Manuals: Even more car manuals for everyone
Home >> Suzuki >> 1990 >> Sidekick JS >> Repair and Diagnosis >> Engine Performance >> System >> Engine Controls - System/Component Tests >> Exhaust Gas RECIRCULATION (EGR) >> EGR System Test (Federal Sidekick)

EGR System Test (Federal Sidekick)

  1. Before checking EGR system, ensure pressure sensor is operating correctly. See PRESSURE SENSOR under ENGINE SENSORS & SWITCHES in this article. Ensure no lock-up signal (A/T) or 5th switch signal (M/T) is applied to ECM. The ECM is located at upper left corner of instrument panel.
  2. On A/T models to check lock-up signal, check for voltage at terminal A6 (Light Blue wire) of ECM. If voltage is present, check lock-up solenoid circuit. See WIRING DIAGRAMS article.
  3. On M/T models to check 5th switch signal, check for voltage at terminal A5 (Light Blue wire) of ECM. If voltage is present, check 5th switch circuit. See WIRING DIAGRAMS article.
  4. On all models, place transmission in Park (A/T) or Neutral (M/T). Apply parking brake. With coolant temperature less than 118°F (48°C), start engine and operate at high RPM. EGR valve diaphragm should not move.
  5. Warm engine to normal operating temperature. Operate engine at high RPM. EGR valve diaphragm should move up.
  6. If EGR valve does not operate as specified, check for misrouted, restricted, clogged or deteriorated vacuum hoses. If vacuum hoses are okay, check EGR valve and EGR modulator (backpressure transducer). See EGR VALVE  and EGR MODULATOR (BACKPRESSURE TRANSDUCER)  under EXHAUST GAS RECIRCULATION (EGR) in this article.
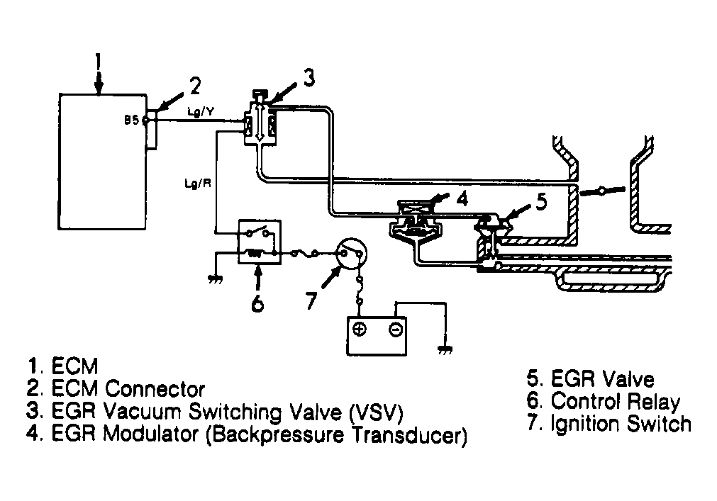
  7. If EGR valve and EGR modulator (backpressure transducer) are okay, check EGR Vacuum Switching Valve (VSV). See EGR VACUUM SWITCHING VALVE (VSV)  under EXHAUST GAS RECIRCULATION (EGR) in this article.
  8. If VSV is okay, disconnect 18-pin connector from ECM. Turn ignition on. Check for battery voltage on terminal B5 (Light/Green Yellow wire) of ECM connector. If battery voltage is present, go to step 10).
  9. If battery voltage is not present, check for open in Light Green/Red wire to VSV. See Fig 1 . Check for open or short in Light Green/Yellow wire. If wiring is okay, check control relay. Refer to CONTROL RELAY  under RELAYS & SOLENOIDS in this article. Repair as necessary.
  10. If battery voltage is present as described in step 8), install connector on ECM. With engine running, check for battery voltage on terminal B5 (Light Green/Yellow wire) of ECM connector.
  11. With coolant temperature less than 140°F (60°C), no voltage should be present. If no voltage is present, ECM is okay. If voltage is present, check coolant temperature sensor. See COOLANT (WATER) TEMPERATURE SENSOR  under ENGINE SENSORS & SWITCHES in this article.
  12. Replace coolant temperature sensor if defective. If coolant temperature sensor is okay, check for proper connections at ECM. If connections are okay, substitute ECM and recheck.
Fig 1: EGR Control System Vacuum & Wiring Diagram (Sidekick)
G90H17399Courtesy of SUZUKI OF AMERICA CORP.