LEMON Manuals: Even more car manuals for everyone
Home >> Suzuki >> 1990 >> Sidekick JS >> Repair and Diagnosis (Single Page) >> Engine Performance >> System >> Engine Controls - Tests W/Codes >> Fault Code Flow Charts >> Code 44 - Idle Switch Circuit Open Or MISADJUSTED

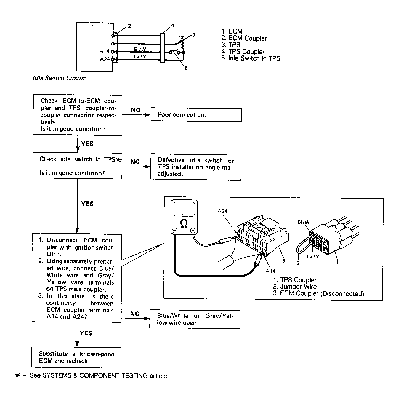
Code 44 - Idle Switch Circuit Open Or MISADJUSTED

Fig 1: Code 44 Circuit Diagram & Flow Chart
G119603Courtesy of SUZUKI OF AMERICA CORP.