LEMON Manuals: Even more car manuals for everyone
Home >> Suzuki >> 1988 >> Samurai Base >> Repair and Diagnosis (Single Page) >> Engine Performance >> Testing & Diagnosis >> Feedback Carburetor System >> Circuit Checking >> Electronic Control Module (ECM) >> Ground Circuits

Ground Circuits

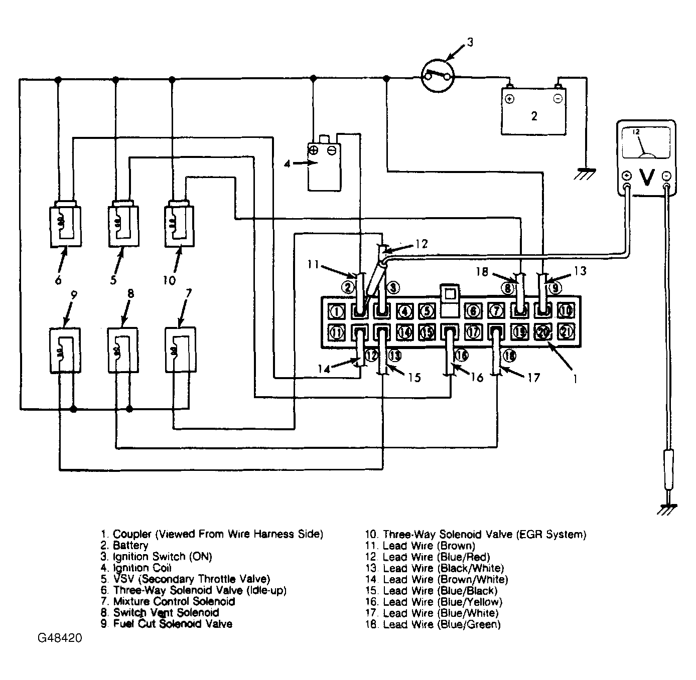
  1. ECM is grounded at both the dash and intake manifold. Feedback system will not function properly if either ground is not secure. Turn ignition off. Disconnect ECM connector.
  2. Attach ohmmeter between terminal No. 1 (harness side) and ground. See Figure . Note ohmmeter reading. Repeat procedure for terminal No. 21 and note ohmmeter reading. If ohmmeter reading at both terminals is zero, ground system is secure.
  3. If reading is not zero, repair ground as necessary. One ground wire is a Black/Green wire, mounted to firewall, near battery. Second ground wire is a Black wire, mounted to intake manifold, near thermostat housing.
Fig 1: Checking Power Circuit
G48420Courtesy of SUZUKI OF AMERICA CORP.