LEMON Manuals: Even more car manuals for everyone
Home >> Suzuki >> 1987 >> Samurai Base >> Repair and Diagnosis >> External Pages >> Different car >> Section 19 (Data Communication System) >> Schematic & Routing Diagram >> Data Communication Connector End Views >> Body Control Module (BCM) C6

Body Control Module (BCM) C6

WARNING: This page is about a different car, the 2007 Suzuki XL7. However, it is still accessible from the selected car via links, so may be relevant.
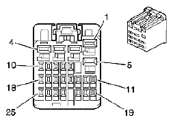
Fig 1: Body Control Module (BCM) C6 - Connector Pin Locations
G04844987Courtesy of SUZUKI OF AMERICA CORP.

Connector Part Information 

OEM: HITPB-25-F-PK

Service: -

Description: 25-WAY F Receptacle Unsealed 0.64 2.8 (PK)

Terminal Part Information 

Pins: 1, 2

Terminal/Tray: See Suzuki Terminal Repair Kit

Core/Insulation Crimp: See Suzuki Terminal Repair Kit

Release Tool/Test Probe: See Suzuki Terminal Repair Kit

Pins: 8, 9, 10, 12, 15, 18

Terminal/Tray: SNAC3-A021T-M0.64/20

Core/Insulation Crimp: J/J

Release Tool/Test Probe: 12094429/J-35616-64B (L-BU)

BODY CONTROL MODULE (BCM) C6 CONNECTOR TERMINALS INFORMATION

Pin Wire Color Circuit No. Function
1 D-BU/WH 149 Courtesy Lamp Supply Voltage
2 L-GN 24 Backup Lamp Supply Voltage
3-7 - - Not Used
8 TN/WH 746 Right Front Door Ajar Switch Signal
9 D-BU 245 Passenger Door Lock Switch Unlock Signal
10 GY/BK 745 Left Front Door Ajar Switch Signal
11 - - Not Used
12 PK/BK 1303 Liftgate Ajar Switch Signal
13-14 - - Not Used
15 GY 5797 Rear Closure Handle Switch Open Signal
16-17 - - Not Used
18 L-BU 244 Passenger Door Lock Switch Lock Signal
19-25 - - Not Used