LEMON Manuals: Even more car manuals for everyone
Home >> Suzuki >> 1987 >> Samurai Base >> Repair and Diagnosis >> External Pages >> Different car >> Section 19 (Data Communication System) >> Schematic & Routing Diagram >> Data Communication Connector End Views >> Body Control Module (BCM) C2

Body Control Module (BCM) C2

WARNING: This page is about a different car, the 2007 Suzuki XL7. However, it is still accessible from the selected car via links, so may be relevant.
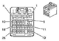
Fig 1: Body Control Module (BCM) C2 - Connector Pin Locations
G04844983Courtesy of SUZUKI OF AMERICA CORP.

Connector Part Information 

OEM: HITPB-25-B-S

Service: -

Description: 25-Way F Receptacle 0.64 2.8 Unsealed (WH)

Terminal Part Information 

Pins: 1, 2, 3, 3

Terminal/Tray: SNAC-A061T-M2.8/20

Core/Insulation Crimp: E/A

Release Tool/Test Probe: 12094429/J-35616-4A (PU)

Pins: 8, 11, 12, 17, 21

Terminal/Tray: SNAC3-A021T-M0.64/20

Core/Insulation Crimp: J/J

Release Tool/Test Probe: 12094429/J-35616-64B (L-BU)

BODY CONTROL MODULE (BCM) C2 CONNECTOR TERMINAL INFORMATION

Pin Wire Color Circuit No. Function
1 OG 1732 Inadvertent Power Supply Voltage
2 RD/WH 1240 Battery Positive Voltage
3 GY 8 Instrument Panel Lamp Supply Voltage
4-7 - - Not Used
8 BN/WH 301 Rear Park Lamps Supply Voltage/Park Lamp Switch On Signal
9-10 - - Not Used
11 L-GN/BK 1137 DRL Ambient Light Sensor Signal
12 WH 103 Automatic Headlamp Relay Control
13-16 - - Not Used
17 D-GN 306 Headlamp Switch On Signal
18-20 - - Not Used
21 L-BU 1788 Traction Control Switch Signal
22 PU/WH 5905 Key Capture/Column Lock Shift Position Signal
23-25 - - Not Used