LEMON Manuals: Even more car manuals for everyone
Home >> Suzuki >> 1986 >> Samurai Base >> Repair and Diagnosis (Single Page) >> Engine Performance >> Ignition System - NIPPONDENSO Electronic >> Testing >> IGNITOR Module Test

IGNITOR Module Test

  1. Disconnect coil wire from cap and hold wire about 1/4" away from ground. Turn ignition on. Connect a flashlight (1.5 volt) battery between Red (positive) and White (negative) ignitor wires.
  2. Ignitor is okay if sparks are generated between coil wire and ground when one flashlight battery lead is disconnected. DO NOT apply voltage to ignitor for more than 3 seconds.
  3. If no spark occurs, ensure ignition coil is energized with ignition on. Perform resistance test on ignition coil. If both tests indicate coil is normal, ignitor module is at fault.
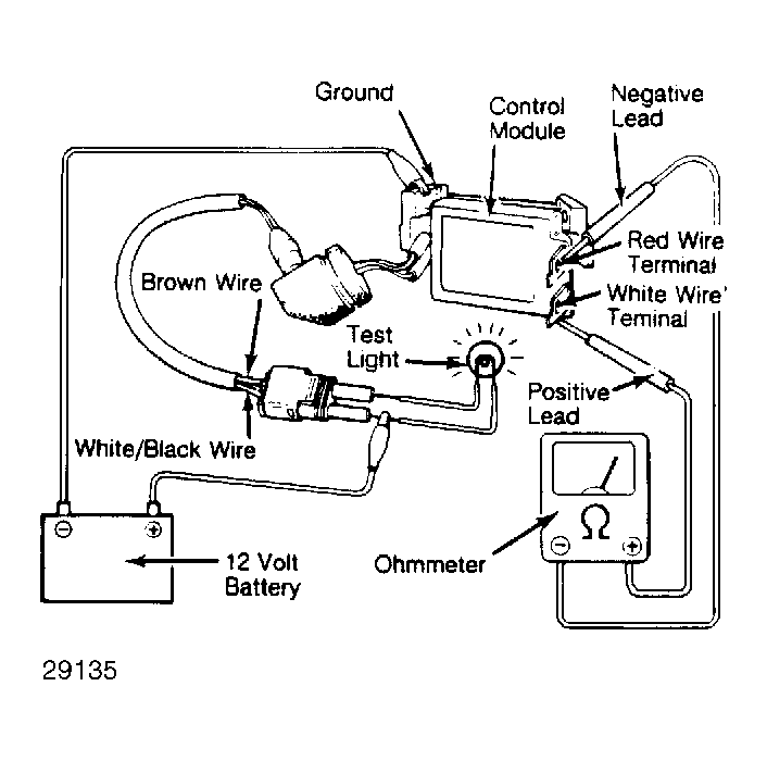
  4. Remove distributor cap and dust cover from module. Disconnect Red and White wires from module. Connect ohmmeter, test lamp, and 12-volt battery to module. See Fig 1.
  5. Set ohmmeter to x1 scale. Connect ohmmeter negative lead to Red wire terminal and positive lead to White wire terminal. Test lamp should light, indicating module is okay. If not, replace module.
NOTE: DO NOT reverse ohmmeter connections as module will be damaged.
Fig 1: Testing Samurai Ignitor Module
G29135