LEMON Manuals: Even more car manuals for everyone
Home >> Subaru >> 2024 >> WRX Base >> Repair and Diagnosis >> Engine Mechanical >> Fuel System >> Fuel Injection System >> General Description >> Components With Torque Specifications >> Fuel Line 1

Fuel Line 1

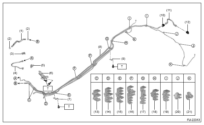
Fig 1: Fuel Line 1 Components Location
G16534785Courtesy of SUBARU OF AMERICA, INC.
(1) Evaporation hose
(2) Clip
(3) Fuel delivery tube clamp
(4) Fuel delivery tube
(5) Fuel delivery tube clamp
(6) Fuel pipe bracket A
(7) Fuel pipe bracket B
(8) Fuel pipe ASSY
(9) Fuel pipe bracket C
(10) Retainer
(11) Purge tube
(12) Retainer
(13) Pipe clamp
(14) Pipe clamp
(15) Pipe clamp
(16) Pipe clamp
(17) Pipe clamp
(18) Pipe clamp
(19) Pipe clamp
(20) Pipe clamp
(21) Pipe clamp

Tightening torque: N.m (kgf-m, ft-lb) 

T: 18 (1.8, 13.3)