LEMON Manuals: Even more car manuals for everyone
Home >> Subaru >> 2024 >> Outback Base >> Repair and Diagnosis (Single Page) >> Engine Performance >> System >> Engine Control System (2.5L) (Diagnostics) (1 Of 4) >> Diagnostic Procedure with Diagnostic Trouble Code (DTC) >> DTC P0111: Intake Air Temperature Sensor 1 Circuit Range/Performance Bank 1 >> General Description >> Component Description

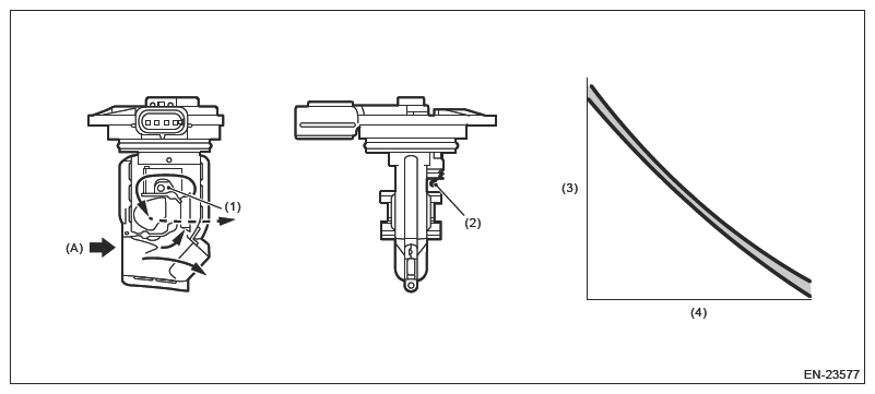
Component Description

G16350288Courtesy of SUBARU OF AMERICA, INC.
(A) Air
(1) Air flow sensor
(2) Intake air temperature sensor
(3) Resistance value (Ω)
(4) Intake air temperature (°C (°F))