LEMON Manuals: Even more car manuals for everyone
Home >> Subaru >> 2024 >> Outback Base >> Repair and Diagnosis (Single Page) >> Accessories & Equipment >> Anti-Theft Systems >> Security And Locks - Keyless Access (W/Push Button Start) (Diagnostics) >> General Description >> System Block Diagram

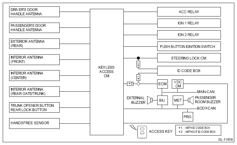
System Block Diagram

G13632699Courtesy of SUBARU OF AMERICA, INC.