LEMON Manuals: Even more car manuals for everyone
Home >> Subaru >> 2024 >> Forester Base >> Repair and Diagnosis >> Engine Performance >> Engine Control Systems >> Speed Control System >> General Description >> Components With Torque Specifications

Components With Torque Specifications

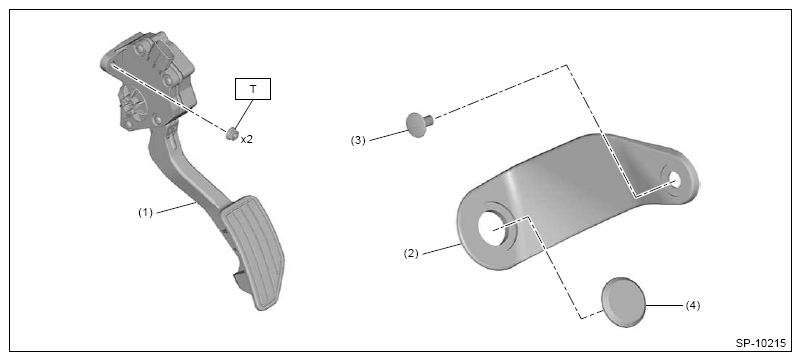
Fig 1: Accelerator Pedal Assembly Components Location
G16335736Courtesy of SUBARU OF AMERICA, INC.
(1) Accelerator pedal assembly
(2) Accelerator plate
(3) Clip
(4) Accelerator stopper

Tightening torque: N.m (kgf-m, ft-lb) 

T: 7.5 (0.8, 5.5)