LEMON Manuals: Even more car manuals for everyone
Home >> Subaru >> 2024 >> Forester Base >> Repair and Diagnosis >> Engine Performance >> Engine Control Systems >> Auto Start Stop System (Diagnostics) >> Diagnostic Procedure with Diagnostic Trouble Code (DTC) >> DTC P0A94: Dc/Dc Converter Performance >> Notes

DTC P0A94: Dc/Dc Converter Performance: Notes

DTC detecting condition: 

Detected when two consecutive driving cycles with fault occur.

Trouble symptom: 

CAUTION: After servicing or replacing faulty parts, perform the last step of the basic diagnostic procedure  . Ref. to AUTO START STOP (DIAGNOSTICS)>BASIC DIAGNOSTIC PROCEDURE .

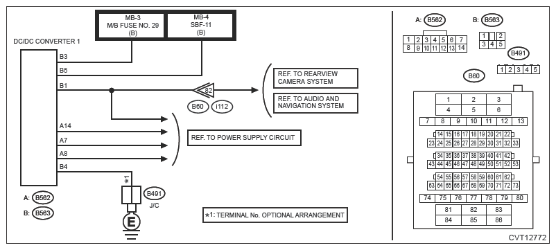
Wiring diagram: 

Auto Start Stop Ref. to WIRING SYSTEM>AUTO START STOP .

G13589595Courtesy of SUBARU OF AMERICA, INC.
  1. CHECK VEHICLE CONDITION  .

    Turn the ignition switch to ON, and turn on the audio or navigation system.

    Is it powered on?

    Yes:  Go to  3.

    No:  Go to  2.

  2. CHECK INPUT VOLTAGE OF DC/DC CONVERTER 1  .

    Measure the voltage between DC/DC converter 1 and chassis ground.

    Connector & terminal 

    (B563) No. 3 (+) - Chassis ground (-):

    (B563) No. 5 (+) - Chassis ground (-):

    Is the voltage 10 V or more?

    Yes:  Go to  3.

    No:  Check the following item and repair if necessary.

    • Open or short to ground in harness of power supply circuit
    • Blown out of fuse
  3. CHECK REPEATABILITY  .
    1. Using the Subaru Select Monitor, perform the clear memory of [Transmission]. Ref. to COMMON (DIAGNOSTICS)>CLEAR MEMORY .
    2. Start the engine.
    3. Turn the ignition switch to OFF and wait for 10 seconds.
    4. Using the Subaru Select Monitor, read the DTC of [Transmission] after repeating the procedure from step  2 to  3 two times. Ref. to AUTO START STOP (DIAGNOSTICS)>DIAGNOSTIC TROUBLE CODE (DTC) .

    Is the same DTC as current diagnosis output?

    Yes:  Check for the poor contact of DC/DC converter 1 connector. Replace the DC/DC converter 1 if no fault is found. Ref. to STARTING/CHARGING SYSTEMS (H4DO)>AUTO START STOP DC/DC CONVERTER .

    No:  The circuit has returned to a normal condition at this time. Reproduce the failure, and then perform the diagnosis again.

    NOTE: In this case, temporary poor contact of connector, temporary open or short circuit of harness may be the cause  .