LEMON Manuals: Even more car manuals for everyone
Home >> Subaru >> 2024 >> BRZ Premium >> Repair and Diagnosis >> Transmission >> Transmission Control Systems >> General Description >> Components With Torque Specifications >> Select Lever Rod

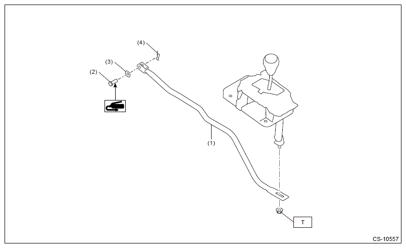
Select Lever Rod

Fig 1: Select Lever Rod Components Location
G16525426Courtesy of SUBARU OF AMERICA, INC.
(1) Select lever rod
(2) Shaft(1)
(3) Wave washer(1)
(4) Snap pin
(1) The shaft and the wave washer are set parts.

Tightening torque: N.m (kgf-m, ft-lb) 

T: 18 (1.8, 13.3)