LEMON Manuals: Even more car manuals for everyone
Home >> Subaru >> 2024 >> BRZ Premium >> Repair and Diagnosis >> Engine Performance >> Engine Control Systems >> Fuel Injection System >> Fuel Pump Assembly >> Installation

Fuel Pump Assembly: Installation

  1. Install a new gasket to the fuel tank.
    G16523445Courtesy of SUBARU OF AMERICA, INC.
  2. Connect the fuel sub delivery tube to the fuel pump assembly. Ref. to FUEL INJECTION (FUEL SYSTEMS) (H4DO)>Fuel Delivery and Evaporation Lines>INSTALLATION > QUICK CONNECTOR CONNECTION (TYPE D 
    G16523442Courtesy of SUBARU OF AMERICA, INC.
  3. Set the fuel pump to the position shown in the figure.
    CAUTION:
    • Be careful not to spill any fuel over the gasket. If any fuel is spilled onto the gasket, wipe it off completely. Otherwise the fuel pump may rotate together with the ring nut.
    • Set the arm and float of the fuel level sensor while paying attention to prevent them from contacting the fuel tank. If the arm of the fuel level sensor is bent, the fuel gauge may not read correctly.
      G16523447Courtesy of SUBARU OF AMERICA, INC.
      (A) Position mark (fuel pump)
      (B) Fuel pump installation position range mark (fuel tank)
      (C) Front side of vehicle
  4. Set a new ring nut plate.
    G16523448Courtesy of SUBARU OF AMERICA, INC.
  5. Set a new ring nut, and align the fuel tank installation start position mark (A) with the ring nut position mark (B).
    NOTE:
    • Make sure that the ring nut, ring nut plate and gasket are set as shown in the figure.
      G16523449Courtesy of SUBARU OF AMERICA, INC.
      (a) Ring nut
      (b) Ring nut plate
      (c) Gasket
    • Set the ring nut by firmly pressing against the fuel tank.
    G16523450Courtesy of SUBARU OF AMERICA, INC.
  6. Using the ST, install the ring nut.
    NOTE: ST consists of (a), (b), (c), (d), (e) and (f).
    G16523437Courtesy of SUBARU OF AMERICA, INC.
    (a) Plate
    (b) Claw A
    (c) Claw B
    (d) T-wrench
    (e) Bar
    (f) Bolt

    Preparation tool: 

    ST: ST FUEL PUMP (42099CC000)

    1. Install the claw B to claw A and set the part by aligning it with the ring nut height.
      G16523452Courtesy of SUBARU OF AMERICA, INC.
      (A) Claw A
      (B) Claw B
      (C) Ring nut
    2. Install the claws to the plate and set the part by aligning with the ring nut.
      CAUTION: Set the part so that the 4 claws are evenly placed.
      G16523439Courtesy of SUBARU OF AMERICA, INC.
      (A) Plate
      (B) Claw
      (C) Ring nut
    3. Install the bar to the T-wrench and install it to the plate.
      NOTE: Install an extension bar of suitable length if necessary.
      G16523440Courtesy of SUBARU OF AMERICA, INC.
      (A) T-wrench
      (B) Bar
      (C) Plate
    4. Using the ST, tighten the ring nut by one turn, and then tighten until the ring nut position mark is located within the installation end position range mark on the fuel tank.
      CAUTION:
      • Be careful not to damage the fuel delivery tube with the ST.
      • Make sure that the ring nut position mark is located within the installation position end range mark on the fuel tank as shown in the figure.
      • Make sure that the position mark on the fuel pump is located within the installation position range mark on the fuel tank as shown in the figure.

      Preparation tool: 

      ST: ST FUEL PUMP (42099CC000)

    G16523455Courtesy of SUBARU OF AMERICA, INC.
    (A) Ring nut installation position start mark (fuel tank)
    (B) Position mark (ring nut)
    (C) Ring nut installation position end range mark (fuel tank)
    (D) Position mark (fuel pump)
    (E) Front side of vehicle
  7. Using a caliper with depth gauge, measure the dimension (3 positions) of the ring nut and the top of fuel tank to check the tightening condition of the ring nut.
    CAUTION:
    • If the measured value exceeds the standard, retighten the ring nut to correct erroneous tightening of the ring nut.
    • If the ring nut and ring nut plate are deformed, cracked or damaged, replace them with new parts.

    Dimension of ring nut and top of fuel tank: 

    Standard 

    21.3 - 26.3 mm (0.839 - 1.035 in)

    G16523456Courtesy of SUBARU OF AMERICA, INC.
    (A) Caliper with depth gauge
    (B) Ring nut
    (C) Fuel tank
    (D) Dimension of ring nut and top of fuel tank
    (E) Measuring point
    (F) Front side of vehicle
  8. Connect the fuel delivery tube. Ref. to FUEL INJECTION (FUEL SYSTEMS) (H4DO)>FUEL DELIVERY AND EVAPORATION LINES>INSTALLATION>QUICK CONNECTOR CONNECTION (TYPE D) .
    G16523436Courtesy of SUBARU OF AMERICA, INC.
  9. Connect the connector to the fuel pump.
    CAUTION: Before connecting, make sure that there are no foreign matters, water, etc. inside the connectors of fuel pump and harness. If any foreign matters, water, etc. are found, remove them with air blow and connect the connector after it has dried completely.
    G16523397Courtesy of SUBARU OF AMERICA, INC.
  10. Install the service hole cover LH of fuel pump.
    1. Apply new butyl tape as shown in the figure.
      NOTE:
      • Before applying butyl tape, degrease the attaching surface of the service hole cover.
      • Apply butyl tape within the range A.
      • Apply butyl tape seamlessly along the attachment guide on the service hole cover.
      • Apply butyl tape so that the start and the end of application overlap within the range B shown in the figure.

      Preparation items: 

      Butyl tape: 3M Butyl Tape 8626 or equivalent

      G16523416Courtesy of SUBARU OF AMERICA, INC.
      (A) Butyl tape
      (B) Application guide
      (C) Range A
      (D) Range B
    2. Set the service hole cover LH to the position shown in the figure.
      NOTE: Before setting the service hole cover, degrease the attaching surface of the floor.
      G16523417Courtesy of SUBARU OF AMERICA, INC.
      (A) Corner bead on the floor and flange of the service hole cover
      (B) Floor protrusion and cutout on the service hole cover
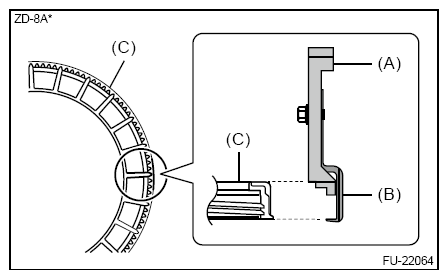
    3. Install the service hole cover LH to the floor as shown in the figure.
      NOTE: Press hard the entire perimeter of the butyl tape attachment area on the service hole cover for secure adhesion.
      G16523418Courtesy of SUBARU OF AMERICA, INC.
      (A) Align the height of the flange of the service hole cover with the height of the corner bead on the floor.
      (B) Closely attach the flange of the service hole cover to the floor.
    4. Install the grommet to the service hole cover LH.
    G16523395Courtesy of SUBARU OF AMERICA, INC.
  11. Install the cushion assembly rear seat LH. Ref. to SEATS>REAR SEAT>INSTALLATION .
  12. Connect the ground terminal to battery sensor. Ref. to REPAIR CONTENTS>NOTE>BATTERY .