LEMON Manuals: Even more car manuals for everyone
Home >> Subaru >> 2024 >> BRZ Premium >> Repair and Diagnosis >> Engine Performance >> Engine Control Systems >> Fuel Injection System >> Fuel Level Sensor >> Inspection >> Fuel Sub Level Sensor Side

Fuel Sub Level Sensor Side

  1. Check that the fuel sub level sensor has no damage.
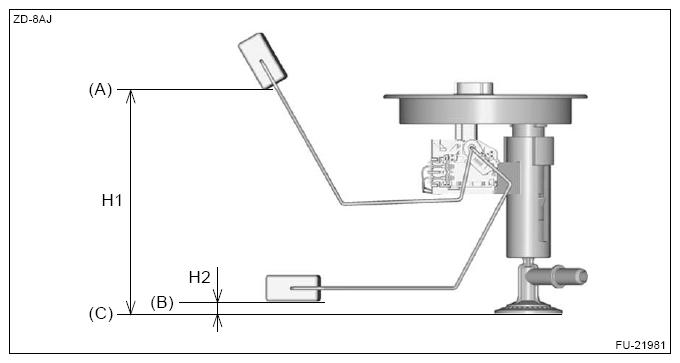
  2. Check the fuel sub level sensor float position.
    NOTE: When inspecting the fuel sub level sensor, perform the work with the sensor installed to the fuel sub level sensor case.
    G16523504Courtesy of SUBARU OF AMERICA, INC.
    (A) FULL
    (B) EMPTY
    (C) Fuel tank seating surface
    Float position Standard
    FULL - Fuel tank seating surface H1 153.6 - 162.6 mm (6.047 - 6.402 in)
    EMPTY - Fuel tank seating surface H2 4.05 - 13.05 mm (0.159 - 0.514 in)
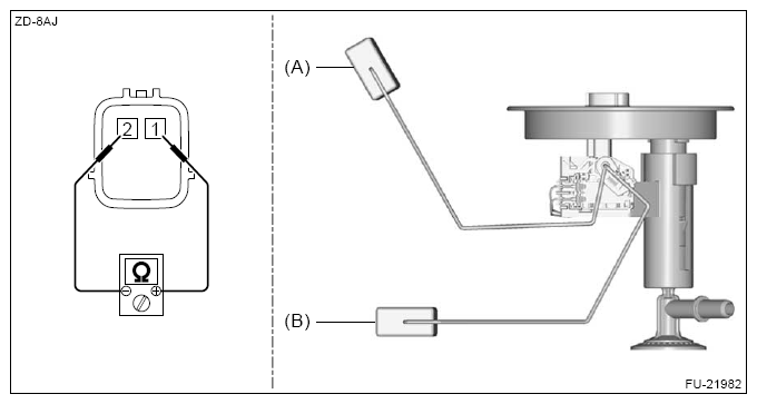
  3. Check the resistance between fuel sub level sensor terminals by the connector on top of the fuel sub level sensor.
G16523505Courtesy of SUBARU OF AMERICA, INC.
Float position Terminal No. Standard
FULL (A) 1 - 2 6.5 - 8.5 Ω
EMPTY (B) 247.6 - 252.6 Ω