LEMON Manuals: Even more car manuals for everyone
Home >> Subaru >> 2023 >> WRX Base, Standard Trans >> Repair and Diagnosis >> Engine Performance >> System >> Engine Control System (Diagnostics) (1 Of 4) >> Diagnostic Procedure with Diagnostic Trouble Code (DTC) >> DTC P0117: Engine Coolant Temperature Sensor 1 Circuit Low >> General Description >> Component Description

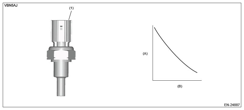
Component Description

G16542072Courtesy of SUBARU OF AMERICA, INC.
(A) Resistance value (kΩ)
(B) Temperature (°C (°F))
(1) Engine coolant temperature sensor