LEMON Manuals: Even more car manuals for everyone
Home >> Subaru >> 2023 >> Outback Base >> Repair and Diagnosis >> Engine Performance >> Engine Control Systems >> Fuel Injection System (2.5L) >> General Description >> Components With Torque Specifications >> Fuel Tank 2

Fuel Tank 2

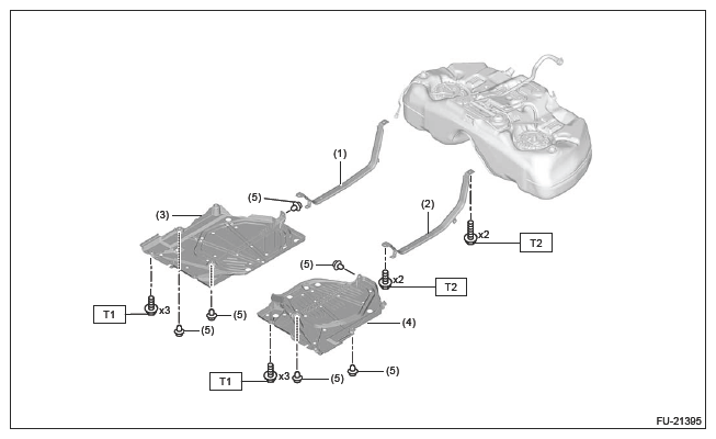
Fig 1: Fuel Tank 2 Components Location
G16382756Courtesy of SUBARU OF AMERICA, INC.
(1) Fuel tank band RH
(2) Fuel tank band LH
(3) Fuel tank protector RH
(4) Fuel tank protector LH
(5) Clip

Tightening torque: N.m (kgf-m, ft-lb) 

T1: 18 (1.8, 13.3) 

T2:  Ref. to FUEL INJECTION (FUEL SYSTEMS) (H4DO)>FUEL TANK>INSTALLATION .