LEMON Manuals: Even more car manuals for everyone
Home >> Subaru >> 2023 >> Outback Base >> Repair and Diagnosis >> Engine Performance >> Engine Control Systems >> Fuel Injection System (2.5L) >> Fuel Level Sensor >> Inspection

Fuel Level Sensor: Inspection

  1. Check that the fuel level sensor has no damage.
  2. Measure the fuel level sensor float position.
    NOTE: When inspecting the fuel level sensor, perform the work with the sensor installed to the fuel pump.
    G16383014Courtesy of SUBARU OF AMERICA, INC.
    (A) FULL
    (B) EMPTY
    (C) Fuel tank seating surface
    Float position Standard
    FULL - Fuel tank seating surface H1 190.7±3.5 mm (7.508±0.138 in)
    EMPTY - Fuel tank seating surface H2 24.6±3.5 mm (0.969±0.138 in)
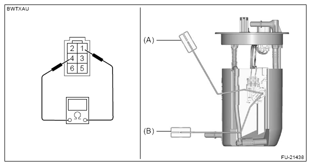
  3. Check the resistance between fuel level sensor terminals by the connector on top of the fuel pump.
    G13618583Courtesy of SUBARU OF AMERICA, INC.
    Float position Terminal No. Standard
    FULL (A) 1 and 4 8.7±1.0 Ω
    EMPTY (B) 233.4±2.5 Ω