LEMON Manuals: Even more car manuals for everyone
Home >> Subaru >> 2023 >> Forester Base >> Repair and Diagnosis >> Engine Performance >> System >> Engine Control System (Diagnostics) (2 Of 4) >> Diagnostic Procedure with Diagnostic Trouble Code (DTC) >> DTC P05C0: Active Grille Air Shutter Module "A" Over Temperature >> General Description >> Component Description

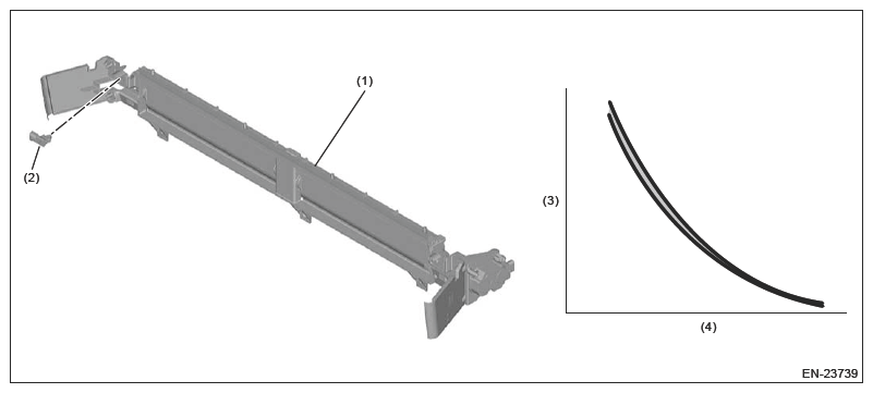
Component Description

G16345371Courtesy of SUBARU OF AMERICA, INC.
(1) Active grille shutter
(2) Ambient sensor
(3) Resistance value (KΩ)
(4) Ambient air temperature (°C (°F))