LEMON Manuals: Even more car manuals for everyone
Home >> Subaru >> 2023 >> Ascent Base >> Repair and Diagnosis >> Engine Performance >> System >> Engine Control System (Diagnostics - Introduction) >> Inspection Mode >> Procedure >> Inspection Mode U

Inspection Mode U

DTC Description & trouble part Condition Number of driving cycles on the detecting condition
P0401 EGR ABNORMAL (EGR AMOUNT TOO SMALL) - 2
P0402 EGR "A" FLOW EXCESSIVE DETECTED - 2
WARNING: When performing inspection mode U on a public road, pay sufficient attention to the traffic condition and give the highest priority to safe driving.
NOTE: Perform the inspection mode after warming up the engine except that the engine coolant temperature at engine start is specified.
  1. Check that the battery voltage is 12 V or more and fuel remains approx. half [20 - 40 L (5.3 - 10.6 US gal, 4.4 - 8.8 Imp gal)].
  2. Using the Subaru Select Monitor, clear the memory of [Engine Control System]. Ref. to COMMON (DIAGNOSTICS)>CLEAR MEMORY .
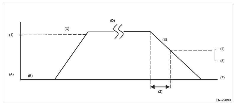
  3. Drive according to the drive pattern described below.
    G16348859Courtesy of SUBARU OF AMERICA, INC.
    (1) Vehicle speed 60 km/h (37.3 MPH)
    (2) Deceleration for 10 seconds or more (There is no restriction to the driving operation)
    (3) Vehicle speed 40 km/h (24.9 MPH)
    (4) Engine speed 1300 rpm or more
    (A) Start the engine.
    (B) Idle the engine for 20 seconds or more.
    (C) Accelerate the vehicle to 60 km/h (37.3 MPH). (There is no restriction to the driving operation.)
    (D) Drive at a constant speed. (Step (D) may be omitted according to road conditions.)
    (E) With the accelerator pedal fully closed, decelerate the vehicle speed while taking at least 10 seconds and maintaining the vehicle speed at 40 km/h (24.9 MPH) or more as well as the engine speed 1300 rpm or more.
    (F) Park the vehicle and stop the engine. (Driving method while vehicle is driven to a stop at safe place is not restricted.)
  4. Read the pending code using the Subaru Select Monitor or general scan tool. Ref. to COMMON (DIAGNOSTICS)>DIAGNOSTIC TROUBLE CODE (DTC) .