LEMON Manuals: Even more car manuals for everyone
Home >> Subaru >> 2023 >> Ascent Base >> Repair and Diagnosis >> Engine Performance >> Engine Ignition System >> Spark Plug >> Inspection

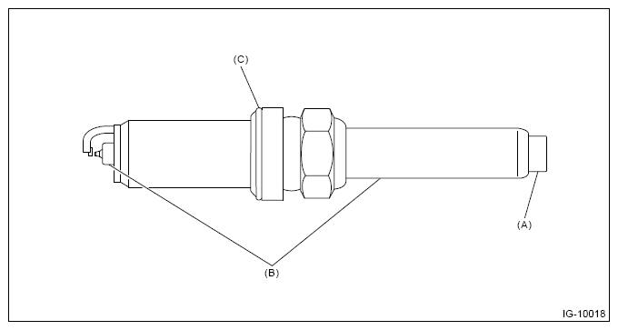
Spark Plug: Inspection

  1. Check the spark plug for damage. If defective, replace the spark plug.
    G16385236Courtesy of SUBARU OF AMERICA, INC.
    (A) Terminal damage or looseness
    (B) Crack or damage in insulator
    (C) Damaged gasket
  2. Check the spark plug electrode and condition of the insulator. If abnormal, check and repair the cause and replace the spark plug.
    CAUTION: Do not use a plug cleaner or brush to clean the spark plug as it may damage the electrode area.
    1. Normal:

      Brown to grayish-tan deposits and slight electrode wear indicate correct spark plug heat range.

      G14601582Courtesy of SUBARU OF AMERICA, INC.
    2. Carbon fouled:

      Dry fluffy carbon deposits on the insulator and electrode are mostly caused by slow-speed driving in town, weak ignition, too rich fuel mixture, etc.

      G14601583Courtesy of SUBARU OF AMERICA, INC.
    3. Oil fouled:

      Wet black deposits show oil entrance into combustion chamber through worn piston rings or increased clearance between valve guides and valve stems.

      G14601584Courtesy of SUBARU OF AMERICA, INC.
    4. Overheating:

      A white or light gray insulator with black or brown spots and bluish burnt electrodes indicate engine overheating, wrong selection of fuel, or loose spark plugs.

      G14601585Courtesy of SUBARU OF AMERICA, INC.
  3. Visually check the spark plug gap (A). If faulty such as deformation is found, replace the spark plug.
    CAUTION: Do not adjust the gap for the spark plug.
    G16385241Courtesy of SUBARU OF AMERICA, INC.