LEMON Manuals: Even more car manuals for everyone
Home >> Subaru >> 2021 >> WRX Base >> Repair and Diagnosis >> Engine Performance >> Engine Control Systems >> Fuel Injection System (2.0L) >> Intake Manifold >> Removal

Intake Manifold: Removal

  1. Remove the collector cover. Refer to INTAKE (INDUCTION) (W/O STI)>COLLECTOR COVER>REMOVAL .
  2. Release the fuel pressure. Refer to FUEL INJECTION (FUEL SYSTEMS) (W/O STI)>FUEL>PROCEDURE>RELEASING OF FUEL PRESSURE .
  3. Disconnect the ground terminal from battery sensor. Refer to NOTE>NOTE>BATTERY .
  4. Open the fuel filler lid and remove the fuel filler cap.
    NOTE: This operation is required to release the inner pressure of the fuel tank.
  5. Lift up the vehicle.
  6. Remove the under cover. Refer to EXTERIOR/INTERIOR TRIM>FRONT UNDER COVER>REMOVAL .
  7. Drain approximately 3.0 L (3.2 US qt, 2.6 Imp qt) of coolant. Refer to COOLING(W/O STI)>ENGINE COOLANT>REPLACEMENT>DRAINING OF ENGINE COOLANT .
  8. Remove the intercooler. Refer to INTAKE (INDUCTION) (W/O STI)>INTERCOOLER>REMOVAL .
  9. Remove the intake duct No. 2. Refer to INTAKE (INDUCTION) (W/O STI)>INTAKE DUCT>REMOVAL>INTAKE DUCT NO. 2 .
  10. Remove the intake duct No. 3. Refer to INTAKE (INDUCTION) (W/O STI)>INTAKE DUCT>REMOVAL>INTAKE DUCT NO. 3 .
  11. Disconnect the PCV hose from the PCV valve.
    G09480039Courtesy of SUBARU OF AMERICA, INC.
  12. Disconnect the connector (A) from the throttle body, and disconnect the preheater hose (B) from the throttle body.
    G10266071Courtesy of SUBARU OF AMERICA, INC.
  13. Disconnect sections (A) and (B) of the brake booster vacuum hose from the brake vacuum pump and intake manifold, and remove the brake booster vacuum hose from the clip (C).
  14. Remove the brake booster vacuum hose from the clip (D), and place the brake booster vacuum hose aside so that it does not interfere with the work.
    G10266664Courtesy of SUBARU OF AMERICA, INC.
  15. Remove the clips securing the PCV pipe and generator cord to the intake manifold.
    G10266077Courtesy of SUBARU OF AMERICA, INC.
  16. Disconnect the vacuum control hose and vacuum hose from the vacuum pipe assembly.
    G09479601Courtesy of SUBARU OF AMERICA, INC.
  17. Disconnect two vacuum hoses from the canister pipe.
    G09479602Courtesy of SUBARU OF AMERICA, INC.
  18. Disconnect the connector from the purge control solenoid valve.
    G09479603Courtesy of SUBARU OF AMERICA, INC.
  19. Disconnect the connector from the manifold absolute pressure and intake air temperature sensor.
    G09479604Courtesy of SUBARU OF AMERICA, INC.
  20. Disconnect the connector (A) from the tumble generator valve RH.
  21. Disconnect the connector (B) from the tumble generator valve LH, and remove the bolt securing the fuel pipe protector to the intake manifold.
    G10266082Courtesy of SUBARU OF AMERICA, INC.
  22. Remove the engine wiring harness clip from the intake manifold.
    G10266083Courtesy of SUBARU OF AMERICA, INC.
  23. Remove the bolt securing the EGR pipe to the EGR valve.
    G09479607Courtesy of SUBARU OF AMERICA, INC.
  24. Disconnect the fuel delivery tube and evaporation hose.
    CAUTION:
    • Be careful not to spill fuel.
    • Catch the fuel from the tubes using a container or cloth.
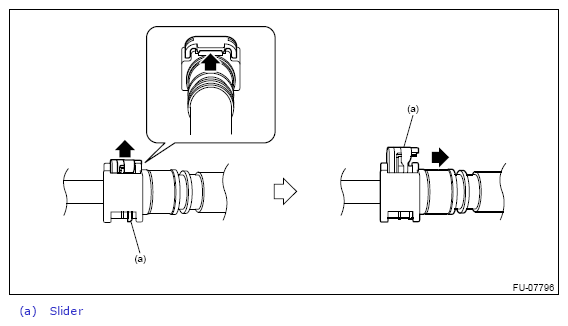
    1. Disconnect the quick connector on the fuel delivery tube from the fuel pipe assembly, and remove the clip (A) securing the fuel delivery tube.
      NOTE: Disconnect the quick connector as shown in the figure.
      G13641031Courtesy of SUBARU OF AMERICA, INC.
      G10266100Courtesy of SUBARU OF AMERICA, INC.
    2. Disconnect the evaporation hose from the fuel pipe assembly.
    G09479610Courtesy of SUBARU OF AMERICA, INC.
  25. Remove the bolts securing the fuel pipe assembly to the intake manifold.
    G09479611Courtesy of SUBARU OF AMERICA, INC.
  26. Disconnect the fuel delivery pipe (A) and vacuum hose (B), and remove the fuel pipe assembly.
    CAUTION:
    • Be careful not to spill fuel.
    • Catch the fuel from the pipes using a container or cloth.
    NOTE: Disconnect the quick connector as shown in the figure.
    G13641035Courtesy of SUBARU OF AMERICA, INC.
    G09479613Courtesy of SUBARU OF AMERICA, INC.
  27. Remove the intake manifold from the air intake adapter together with the tumble generator valve assembly.
    G10266091Courtesy of SUBARU OF AMERICA, INC.
  28. Remove the vacuum hose assembly from the water pipe assembly.
    G09479615Courtesy of SUBARU OF AMERICA, INC.