LEMON Manuals: Even more car manuals for everyone
Home >> Subaru >> 2021 >> Outback Base >> Repair and Diagnosis >> Accessories & Equipment >> Communication Devices >> Body Control System (Diagnostics) >> Diagnostic Procedure With Diagnostic Trouble Code (DTC) >> DTC B1015: Key Interlock Circuit

DTC B1015: Key Interlock Circuit

DTC detecting condition: 

Ground short of key interlock circuit

Trouble symptom: 

Key interlock does not keep lock condition.

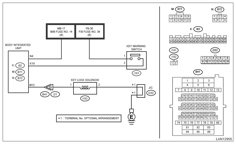
Wiring diagram: 

Shift lock control system Ref. to WIRING SYSTEM>SHIFT LOCK CONTROL SYSTEM>WIRING DIAGRAM .

G13632798Courtesy of SUBARU OF AMERICA, INC.
CAUTION: Before performing diagnosis, refer to "CAUTION" in "General Description". Ref. to BODY CONTROL (DIAGNOSTICS)>General Description>CAUTION .
  1. CHECK DTC  .
    1. Insert the ignition key.
    2. Turn the ignition switch to ON.
    3. Shift to the Neutral range.
    4. Shift into P range.
    5. Shift to the Neutral range.
    6. Shift into P range.
    7. Shift to the Neutral range.
    8. Read the DTC of [Body Control] using the Subaru Select Monitor. Ref. to Body Control (Diagnostics)>Diagnostic Trouble Code (DTC) .

    Is DTC B1015 displayed? (Current malfunction)

    Yes:  Go to  2 .

    No:  Go to  8 .

  2. CHECK DTC  .
    1. Shift the select lever to P range.
    2. Remove the ignition key.
    3. Disconnect the key lock solenoid connector (i182) and body integrated unit connector (B71).
    4. Connect the disconnected connectors.
    5. Insert the ignition key.
    6. Turn the ignition switch to ON and shift into Neutral.
    7. Read the DTC of [Body Control] using the Subaru Select Monitor. Ref. to Body Control (Diagnostics)>Diagnostic Trouble Code (DTC) .

    Is DTC B1015 displayed? (Current malfunction)

    Yes:  Go to  3 .

    No:  Go to  8 .

  3. CHECK KEY LOCK SOLENOID  .
    1. Turn the ignition switch to OFF.
    2. Disconnect the key lock solenoid connector (i182).
    3. Measure the resistance between the key lock solenoid connector.

      Terminals 

      Key lock solenoid 

      No. 1 - No. 2:

    Is the resistance 103 - 115 Ω?

    Yes:  Go to  4 .

    No:  Replace the key lock solenoid. Ref. to SECURITY AND LOCKS>KEY LOCK CYLINDERS .

  4. CHECK KEY LOCK SOLENOID  .

    Connect the battery terminal to key lock solenoid.

    Terminals 

    Key lock solenoid 

    No. 1 - Positive terminal:

    No. 2 - Ground terminal:

    Is the actuator activated and then key locked?

    Yes:  Go to  5 .

    No:  Replace the key lock solenoid. Ref. to SECURITY AND LOCKS>KEY LOCK CYLINDERS .

  5. CHECK HARNESS  .
    1. Disconnect the body integrated unit connector (B71).
    2. Measure the resistance between body integrated unit and key lock solenoid using a tester.

      Connector and terminal 

      (i182) No. 1 - (B71) No. 12:

    Is the resistance less than 10 Ω?

    Yes:  Go to  6 .

    No:  Repair or replace the open circuit of harness.

  6. CHECK HARNESS (GROUND SHORT CIRCUIT)  .

    Measure the resistance between body integrated unit and chassis ground using tester.

    Connector and terminal 

    (B71) No. 12 - Chassis ground:

    Is the resistance 1 MΩ or more?

    Yes:  Go to  7 .

    No:  Repair or replace the short circuit of the harness.

  7. CHECK POWER SUPPLY CIRCUIT  .
    1. Connect the body integrated unit.
    2. Turn the ignition switch to ON.
    3. Measure the voltage between body integrated unit and chassis ground using tester.

      Connector and terminal 

      (B72) No. 4 (+) - Chassis ground (-):

    Is the voltage 6 V or more?

    Yes:  Go to  8 .

    No:  Check the fuse and harness.

  8. CHECK CONNECTOR  .
    1. Turn the ignition switch to OFF.
    2. Disconnect the body integrated unit connector (B71) and key lock solenoid connector (i182).

    Is there poor contact at disconnected connector terminal?

    Yes:  Repair or replace the poor contact of connector.

    No:  Even if DTC is displayed, the circuit has returned to a normal condition at this time. Reproduce the failure, and then perform the diagnosis again.

    NOTE: In this case, temporary poor contact of connector, temporary open or short circuit of harness may be the cause.