LEMON Manuals: Even more car manuals for everyone
Home >> Subaru >> 2021 >> Forester Base >> Repair and Diagnosis >> Electrical >> Charging Systems >> Engine Starting System & Charging System >> Battery Sensor >> Installation

Battery Sensor: Installation

CAUTION:
  • If the battery terminal is worn and the terminal section is loose, replace it with a new battery.
  • After connecting the ground terminal to the battery sensor, the initial diagnosis of the electronic throttle control is conducted by the vehicle. Therefore, wait for 10 seconds or more after turning the ignition switch to ON, and then start the engine.
  1. Install the battery sensor.
    1. Clean and degrease the battery terminal, inside of the battery sensor terminal, ground terminal connecting area, and ground terminal.
      CAUTION: As residual grease on the bolt thread may cause overtorque, clean and degrease the thread if grease remains on it. Also, be careful to avoid battery sensor deformation and intrusion of grease into the inside of the connector when wiping.
      G13868466Courtesy of SUBARU OF AMERICA, INC.
    2. Loosen the battery sensor nut up to just before the crimp to make sure that the clamp is open.
      CAUTION:
      • The end of the bolt (a) of the battery sensor is crimped. Therefore, do not loosen the nut (b) to the crimped portion.
      • Make sure that the seat (c) of battery sensor is fully in contact with the rotation stopper (d).
      NOTE: This operation is required to firmly insert the battery sensor into the battery terminal.
      G13224907Courtesy of SUBARU OF AMERICA, INC.
    3. Set the battery sensor to the battery terminal, and tighten the nut.
      CAUTION: Insert until the battery terminal upper end (a) exceeds the height of the battery sensor terminal upper end (b).

      Tightening torque: 

      3.4 N.m (0.3 kgf-m, 2.5 ft-lb)

    G13224908Courtesy of SUBARU OF AMERICA, INC.
    G13224905Courtesy of SUBARU OF AMERICA, INC.
  2. Connect the connector and ground terminal to the battery sensor.

    Tightening torque: 

    7.5 N.m (0.8 kgf-m, 5.5 ft-lb)

    G13224903Courtesy of SUBARU OF AMERICA, INC.
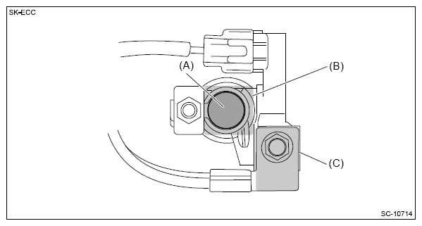
  3. Apply a thin coat of grease to cover the battery terminal surface (A), connection between the battery terminal and the battery sensor (B), and connection between the ground terminal and the battery sensor (C).
    CAUTION: This procedure is required to prevent rust and suppress sulfation. Be careful to avoid overgreasing as it causes insulation.
    G13868471Courtesy of SUBARU OF AMERICA, INC.