LEMON Manuals: Even more car manuals for everyone
Home >> Subaru >> 2021 >> Forester Base >> Repair and Diagnosis (Single Page) >> Engine Performance >> System >> Engine Control System (Diagnostics) (2 Of 4) >> Diagnostic Procedure With Diagnostic Trouble Code (DTC) >> DTC P0455: EVAP System (CPC) Leak Detected (Large Leak) >> General Description >> Diagnostic Method

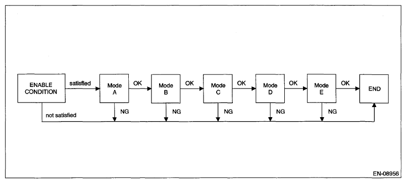
Diagnostic Method

G13227863Courtesy of SUBARU OF AMERICA, INC.
Mode Explanation of Mode Diagnosis period DTC
A Vacuum pump operation confirmation and characteristics stability 7 s or less P2404
B Measurement of reference pressure for setting the target negative pressure 350 s or less P2404
C Switching valve operation confirmation 12 s or less P2404
D 0.04 inch leak pressure measurement 900 s or less P0455
0.02 inch leak pressure measurement P0456
Clogging of pipe diagnosis and leak pressure measurement P1451
E Reference pressure measurement for judgment 50 s or less P2401
G07669739Courtesy of SUBARU OF AMERICA, INC.

<Mode A (vacuum pump operation confirmation and characteristics stability)> 

Purpose: Detect the vacuum pump operation trouble.

Judge as NG when the following conditions are established.

Judge as OK if the following conditions are not established, and warm up for five minutes to stabilize the vacuum pump characteristics.

JUDGMENT VALUE SPECIFICATION

Malfunction Criteria Threshold Value DTC
Pressure sensor output value More than -224Pa (-1.68mmHg, -0.1 inHg) P2404

<Mode B (measurement of reference pressure for setting the target negative pressure)> 

Diagnosis 1

Purpose: Judge the reference pressure stability.

Judge as NG when the following conditions are established.

Diagnosis 2

Purpose: Judge whether the reference pressure is within the normal range, and detect the vacuum pump and orifice malfunctions.

Judge as NG when the following conditions are established.

JUDGMENT VALUE SPECIFICATION (DIAGNOSIS 1)

Malfunction Criteria Threshold Value DTC
|Pressure sensor maximum output value - Pressure sensor minimum output value| More than 314Pa (2.355mmHg, 0.1 inHg) P2404
JUDGMENT VALUE SPECIFICATION (DIAGNOSIS 2)

Malfunction Criteria Threshold Value DTC
Reference pressure for setting the target negative pressure Less than value of Map2
or
More than value of Map3
P2404
MAP SPECIFICATION 2

Barometric pressure (kPa (mmHg, inHg)) 70 (525, 20.7 inHg) 80 (600, 23.6 inHg) 90 (675, 26.6 inHg) 100 (750, 29.5 inHg)
Reference pressure for setting the target negative pressure (kPa (mmHg, inHg)) -4 (-29.79, -1.2 inHg) -4.1 (-30.593, -1.2 inHg) -4.2 (-31.395, -1.2 inHg) -4.3 (-32.19, -1.3 inHg)
MAP SPECIFICATION 3

Barometric pressure (kPa (mmHg, inHg)) 70 (525, 20.7 inHg) 80 (600, 23.6 inHg) 90 (675, 26.6 inHg) 100 (750, 29.5 inHg)
Reference pressure for judgment (kPa (mmHg, inHg)) -0.9 (-7.065, -0.3 inHg) -1 (-7.86, -0.3 inHg) -1.2 (-8.663, -0.3 inHg) -1.3 (-9.465, -0.4 inHg)

<Mode C (Switching valve operation confirmation)> 

Purpose: Measure the pressure increase when switching valve is changed from open to close, and detect the stuck to open/close malfunctions of the switching valve.

Judge as NG when the following conditions are established.

JUDGMENT VALUE SPECIFICATION

Malfunction Criteria Threshold Value DTC
Pressure sensor output value -Reference pressure for setting the target negative pressure Less than 224Pa (1.68mmHg, 0.1 inHg) P2404

<Mode D (Clogging of pipe diagnosis and leak pressure measurement)> 

  1. Clogging of pipe 

    Purpose: Measure the time required for the evaporative emission system to reach the target negative pressure by the vacuum pump, and detect the clogging of pipe trouble.

    Judge as clogging of pipe malfunction if the evaporative emission system reaches to the target negative pressure within the specified time.

  2. Leak pressure measurement 

    Purpose: Measure the pressure (leak pressure) when the evaporative emission system becomes the negative pressure by the vacuum pump.

    Store the pressure as a leak pressure while the following conditions are met.

JUDGMENT VALUE SPECIFICATION (CLOGGING OF PIPE)

Malfunction Criteria Threshold Value DTC
Time required to reach to the target negative pressure 34180ms or less P1451
JUDGMENT VALUE SPECIFICATION (LARGE LEAK)

Malfunction Criteria Threshold Value DTC
Leak pressure Value of Map4 or more P0455
JUDGMENT VALUE SPECIFICATION (VERY SMALL LEAK)

Malfunction Criteria Threshold Value DTC
Leak pressure More than 0.018 inch reference pressure
and
Less than value of Map4
P0456
MAP SPECIFICATION 4

Reference pressure for judgment (Pa) -4856 -4000 -2750 -1500 -824
Threshold Value (Pa) -1785 -1463 -991 -520 -265

Formula for threshold value = Reference pressure x 0.377 - 0.341

<Mode E (Measurement of reference pressure for judgment)> 

Diagnosis 1

Purpose: Judge the reference pressure stability.

Judge as NG when the following conditions are established.

Diagnosis 2

Purpose: Judge whether the reference pressure is within the normal range, and detect the vacuum pump and orifice malfunctions. Judge the vacuum pump performance stability.

Judge as NG when the following conditions are established.

Diagnosis 3

Purpose: Judge the presence of evaporative emission system leak.

Judge as NG when the following conditions are established.

JUDGMENT VALUE SPECIFICATION (DIAGNOSIS 1)

Malfunction Criteria Threshold Value DTC
|Pressure sensor maximum output value - Pressure sensor minimum output value| More than 314Pa (2.355mmHg, 0.1 inHg) P2404
JUDGMENT VALUE SPECIFICATION (DIAGNOSIS 2)

Malfunction Criteria Threshold Value DTC
Reference pressure for judgment Less than value of Map5
or
More than value of Map6
P2404
JUDGMENT VALUE SPECIFICATION (DIAGNOSIS 3)

Malfunction Criteria Threshold Value DTC
|Reference pressure for setting the target negative pressure - Reference pressure for judgment| More than 0.9kPa (7.058mmHg, 0.3 inHg) P2404
MAP SPECIFICATION 5

Barometric pressure (kPa (mmHg, inHg)) 70 (525, 20.7 inHg) 80 (600, 23.6 inHg) 90 (675, 26.6 inHg) 100 (750, 29.5 inHg)
Reference pressure for judgment (kPa (mmHg, inHg)) -4.5 (-34.02, -1.3 inHg) -4.6 (-34.815, -1.4 inHg) -4.7 (-35.618, -1.4 inHg) -4.9 (-36.42, -1.4 inHg)
MAP SPECIFICATION 6

Barometric pressure (kPa (mmHg, inHg)) 70 (525, 20.7 inHg) 80 (600, 23.6 inHg) 90 (675, 26.6 inHg) 100 (750, 29.5 inHg)
Reference pressure for judgment (kPa (mmHg, inHg)) -0.8 (-6.18, -0.2 inHg) -0.9 (-6.983, -0.3 inHg) -1 (-7.785, -0.3 inHg) -1.1 (-8.58, -0.3 inHg)

Time needed for diagnosis  : 23 min

Confirm the malfunction at next engine start.

Malfunction indicator light illumination  : Illuminates when malfunction occurs in 2 continuous driving cycles.