LEMON Manuals: Even more car manuals for everyone
Home >> Subaru >> 2021 >> Ascent Base >> Repair and Diagnosis (Single Page) >> Electrical >> Charging Systems >> Starting System & Charging System >> General Description >> Components With Torque Specifications >> Battery Sensor

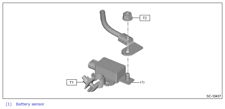
Battery Sensor

Fig 1: Battery Sensor Components
G13863046Courtesy of SUBARU OF AMERICA, INC.

Tightening torque: N.m (kgf-m, ft-lb) 

T1: 6 (0.6, 4.4) 

T2: 7.5 (0.8, 5.5)