LEMON Manuals: Even more car manuals for everyone
Home >> Subaru >> 2020 >> WRX Base >> Repair and Diagnosis >> Steering >> Steering Control Systems >> Power Steering System (Service Information) >> Steering Wheel >> Inspection >> Paddle Shift Switch

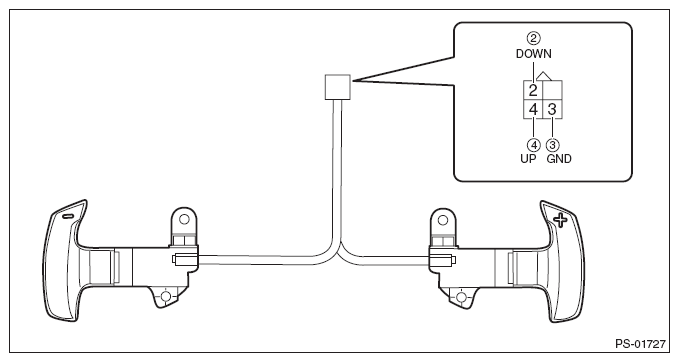
Paddle Shift Switch

  1. Measure the resistance between connector terminals.

    Preparation tool: 

    Circuit tester

    G10270098Courtesy of SUBARU OF AMERICA, INC.
    Terminal No. Inspection conditions Standard
    3 - 4 Operate the + side of paddle shift assembly and hold it. Less than 10 Ω
    2 - 3 Operate the - side of paddle shift assembly and hold it. Less than 10 Ω
    2 - 3
    3 - 4
    Do not operate the paddle shift assembly. Is the resistance 1 MΩ or more?
  2. Replace the paddle shift switch if the inspection result is not within the standard value.