LEMON Manuals: Even more car manuals for everyone
Home >> Subaru >> 2020 >> WRX Base >> Repair and Diagnosis >> Steering >> Steering Control Systems >> Power Steering System (Service Information) >> Steering Gearbox >> Disassembly >> Rack Housing Assembly

Rack Housing Assembly

  1. Disconnect the four pipes from gearbox.
    NOTE: Remove the pipes C and D, which are fixed to clamp plate, as a unit.
  2. Secure the gearbox removed from vehicle in a vise using ST.
    CAUTION: Using the ST, secure the gearbox assembly in a vise as shown in the figure. Do not secure the gearbox without this ST.

    Preparation tool: 

    ST1: STAND (926200000)

    ST2: BOSS D (34199AG000)

    G13648366Courtesy of SUBARU OF AMERICA, INC.
  3. Remove the tie-rod end and lock nut from gearbox.
  4. Remove the small clip from the boot using pliers, and then move the boot to tie-rod end side.
    G13648367Courtesy of SUBARU OF AMERICA, INC.
  5. Using a flat tip screwdriver, remove the band from boot.
    NOTE: Replace the boot if there is damage, cracks or deterioration.
    G13648368Courtesy of SUBARU OF AMERICA, INC.
  6. Using the ST, loosen the lock nut.

    Preparation tool: 

    ST: SPANNER (926230000)

    G13648369Courtesy of SUBARU OF AMERICA, INC.
  7. Tighten the adjusting screw until it can no longer be tightened.
    G13648370Courtesy of SUBARU OF AMERICA, INC.
  8. Remove the tie-rod.
  9. Loosen the adjusting screw, and remove the spring and sleeve.
  10. Remove the two bolts securing valve assembly.
    G05032917Courtesy of SUBARU OF AMERICA, INC.
  11. Carefully draw out the input shaft and remove the valve assembly.
    G05032918Courtesy of SUBARU OF AMERICA, INC.
  12. Using a drill, release the crimping of holder.
    CAUTION: Make a hole of 2 mm (0.08 in) depth using a drill with 3 mm (0.12 in) diameter.
    G05032919Courtesy of SUBARU OF AMERICA, INC.
  13. Remove the holder.
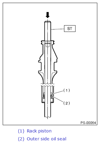
  14. Attach the ST on the valve side of rack, and press out the rack together with the outer side oil seal while taking care that the rack and the steering body inner surface do not come into contact with each other.

    Preparation tool: 

    ST: INSTALLER & REMOVER (34199XA030)

    NOTE: Block the pipe connection of steering body to prevent fluid from flowing out.
    G13648374Courtesy of SUBARU OF AMERICA, INC.
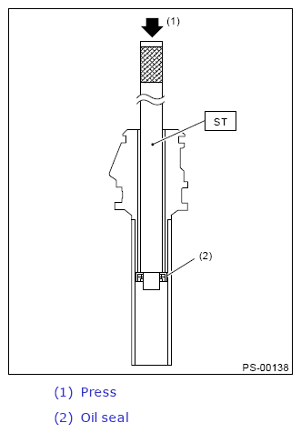
  15. Insert the ST from pinion housing side and remove the oil seal and back-up ring using a press.

    Preparation tool: 

    ST: OIL SEAL REMOVER (34099PA010)

    G13648375Courtesy of SUBARU OF AMERICA, INC.
  16. Using a press, remove the bushing of gearbox installation portion.
    G05343537Courtesy of SUBARU OF AMERICA, INC.