LEMON Manuals: Even more car manuals for everyone
Home >> Subaru >> 2020 >> Forester Base >> Repair and Diagnosis >> Transmission >> Transmission Control Systems >> Select Cable >> Adjustment

Select Cable: Adjustment

  1. Release the shift lock using a screwdriver, etc. and shift the select lever to the "N" range.
    G13225109Courtesy of SUBARU OF AMERICA, INC.
  2. Remove the center exhaust cover.
    G13224646Courtesy of SUBARU OF AMERICA, INC.
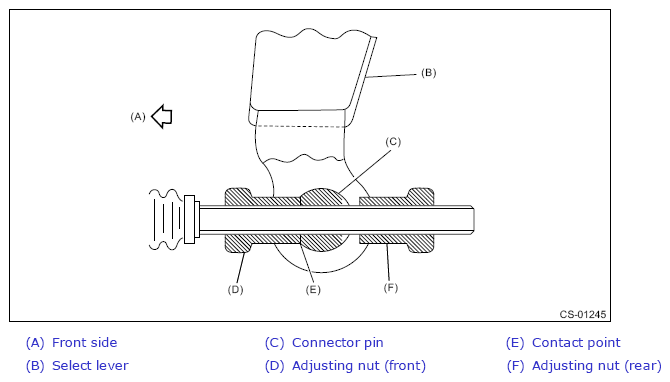
  3. Loosen the adjusting nut (front) and adjusting nut (rear).
    G13225519Courtesy of SUBARU OF AMERICA, INC.
  4. Turn the adjusting nut (front) until it lightly touches the connector pin.
    G13591865Courtesy of SUBARU OF AMERICA, INC.
  5. While holding the adjusting nut (front) in place, tighten the adjusting nut (rear).

    Tightening torque: 

    7.5 N.m (0.8 kgf-m, 5.5 ft-lb)

    G13225521Courtesy of SUBARU OF AMERICA, INC.
  6. After the completion of adjustment, confirm that the select lever operates normally at all ranges.