LEMON Manuals: Even more car manuals for everyone
Home >> Subaru >> 2019 >> WRX Base >> Repair and Diagnosis >> Engine Performance >> Engine Control Systems >> Fuel Injection System (Except For STI) >> Intake Manifold >> Installation

Intake Manifold: Installation

  1. Install the vacuum hose assembly to the water pipe assembly.

    Tightening torque: 

    6.4 N.m (0.7 kgf-m, 4.7 ft-lb)

    G09479615Courtesy of SUBARU OF AMERICA, INC.
  2. Install the intake manifold and tumble generator valve assembly to the air intake adapter.
    NOTE: Use a new gasket.

    Tightening torque: 

    25 N.m (2.5 kgf-m, 18.4 ft-lb)

    G10266091Courtesy of SUBARU OF AMERICA, INC.
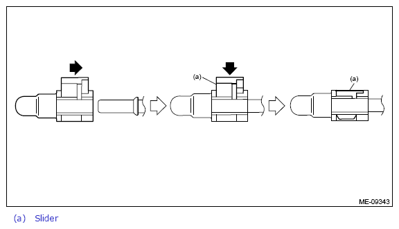
  3. Connect the fuel delivery pipe (A) and vacuum hose (B) to the fuel pipe assembly.
    CAUTION:
    • Check that there is no damage or dust on the quick connector. If necessary, clean the seal surface of the pipe.
    • When connecting the quick connector, make sure to insert it all the way in before locking the slider.
    • When it is difficult to lock the slider, check that the connector is fully inserted.
    • After locking the slider, check again that the quick connector is securely connected.
    NOTE: Connect the quick connector as shown in the figure.
    G13258365Courtesy of SUBARU OF AMERICA, INC.
    G09479613Courtesy of SUBARU OF AMERICA, INC.
  4. Install the fuel pipe assembly to the intake manifold.

    Tightening torque: 

    6.4 N.m (0.7 kgf-m, 4.7 ft-lb)

    G09479611Courtesy of SUBARU OF AMERICA, INC.
  5. Connect the fuel delivery tube and evaporation hose.
    1. Connect the evaporation hose to fuel pipe assembly.
      G09479610Courtesy of SUBARU OF AMERICA, INC.
    2. Connect the connector on the fuel delivery tube to the fuel pipe assembly, and secure the fuel delivery tube using clip (A).
      CAUTION:
      • Check that there is no damage or dust on the quick connector. If necessary, clean the seal surface of the pipe.
      • When connecting the quick connector, make sure to insert it all the way in before locking the slider.
      • When it is difficult to lock the slider, check that the connector is fully inserted.
      • After locking the slider, check again that the quick connector is securely connected.
      NOTE: Connect the quick connector as shown in the figure.
    G13258369Courtesy of SUBARU OF AMERICA, INC.
    G10266100Courtesy of SUBARU OF AMERICA, INC.
  6. Install the EGR pipe. Refer to EMISSION CONTROL (AUX. EMISSION CONTROL DEVICES) (EXCEPT FOR STI)>EGR PIPE>INSTALLATION .
  7. Secure the engine wiring harness to the intake manifold using clip.
    G10266083Courtesy of SUBARU OF AMERICA, INC.
  8. Connect the connector (A) to the tumble generator valve RH.
  9. Connect the connector (B) to the tumble generator valve LH, and secure the fuel pipe protector to the intake manifold.

    Tightening torque: 

    19 N.m (1.9 kgf-m, 14.0 ft-lb)

    G10266082Courtesy of SUBARU OF AMERICA, INC.
  10. Connect connectors to the manifold absolute pressure & intake air temperature sensor.
    G09479604Courtesy of SUBARU OF AMERICA, INC.
  11. Connect the connector to the purge control solenoid valve.
    G09479603Courtesy of SUBARU OF AMERICA, INC.
  12. Connect the vacuum hose to the canister pipe.
    G09479602Courtesy of SUBARU OF AMERICA, INC.
  13. Connect the vacuum control hose and vacuum hose to the vacuum pipe assembly.
    G09479601Courtesy of SUBARU OF AMERICA, INC.
  14. Secure the PCV pipe and generator cord to the intake manifold using the clip.
    G10266077Courtesy of SUBARU OF AMERICA, INC.
  15. Install the brake booster vacuum hose to the clip (D).
    NOTE: If the clip is removed from the intake manifold, install the clip to the position of alignment mark of intake manifold.
  16. Connect sections (A) and (B) of the brake booster vacuum hose to the brake vacuum pump and intake manifold, and install the brake booster vacuum hose to the clip (C).
    G10266664Courtesy of SUBARU OF AMERICA, INC.
  17. Connect the preheater hose (B) to the throttle body, and connect the connector (A) to the throttle body.
    G10266071Courtesy of SUBARU OF AMERICA, INC.
  18. Connect the PCV hose to the PCV valve.
    G09480039Courtesy of SUBARU OF AMERICA, INC.
  19. Install the intake duct No. 3. Refer to INTAKE (INDUCTION) (EXCEPT FOR STI)>INTAKE DUCT>INSTALLATION>INTAKE DUCT NO. 3 .
  20. Install the intake duct No. 2. Refer to INTAKE (INDUCTION) (EXCEPT FOR STI)>INTAKE DUCT>INSTALLATION>INTAKE DUCT NO. 2 .
  21. Install the intercooler. Refer to INTAKE (INDUCTION) (EXCEPT FOR STI)>INTERCOOLER>INSTALLATION .
  22. Install the under cover. Refer to EXTERIOR/INTERIOR TRIM>FRONT UNDER COVER>INSTALLATION .
  23. Lower the vehicle.
  24. Connect the ground terminal to battery sensor. Refer to NOTE>NOTE>BATTERY .
  25. Fill engine coolant. Refer to COOLING (EXCEPT FOR STI)>ENGINE COOLANT>REPLACEMENT>FILLING OF ENGINE COOLANT .
  26. Install the collector cover. Refer to INTAKE (INDUCTION) (EXCEPT FOR STI)>COLLECTOR COVER>INSTALLATION .