LEMON Manuals: Even more car manuals for everyone
Home >> Subaru >> 2019 >> WRX Base >> Repair and Diagnosis >> Engine Performance >> Engine Control Systems >> Fuel Injection System (Except For STI) >> Fuel Level Sensor >> Inspection

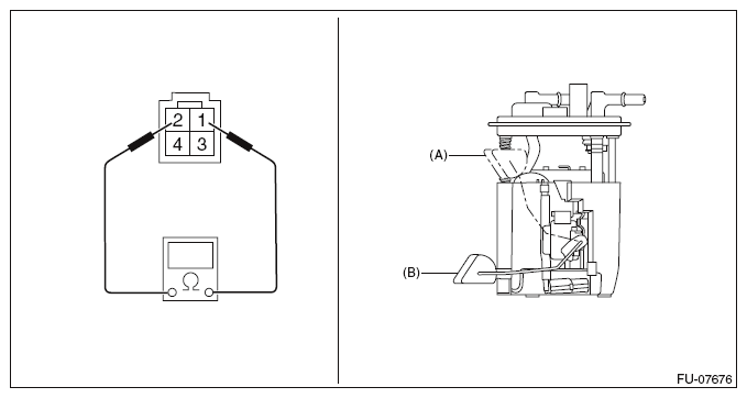
Fuel Level Sensor: Inspection

  1. Check that the fuel level sensor has no damage.
  2. Measure the fuel level sensor float position.
    NOTE: When inspecting the fuel level sensor, perform the work with the sensor installed to the fuel pump.
    G13258595Courtesy of SUBARU OF AMERICA, INC.
    Float position Standard
    FULL to Fuel tank seating surface (A) 133.0±4 mm (5.236±0.157 in)
    EMPTY to Fuel tank seating surface (B) 21.6±4 mm (0.850±0.157 in)
  3. Check the resistance between fuel level sensor terminals by the connector on top of the fuel pump.
    G09475668Courtesy of SUBARU OF AMERICA, INC.
    Float position Terminal No. Standard
    FULL (A) 1 and 2 8.7±1.0 Ω
    EMPTY (B) 139.1±2.0 Ω